Operation CHARM: Car repair manuals for everyone.
Manuals through 2025 now available!

Our trusted friends have launched a new website named LEMON, which has newer manuals. It also contains all the CHARM manuals.

LEMON is the spiritual successor to CHARM, I recommend you try it!

Link: lemon-manuals.la or lemon-manuals.org.ua

(Some people have issue connecting. LEMON is investigating. For now, use Firefox or change your DNS server)

Or, hide this message: temporarily or permanently

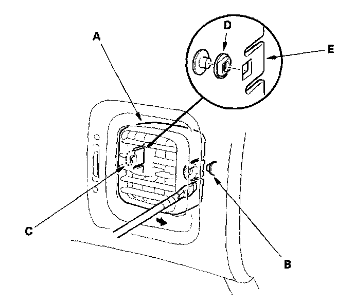
Air Register: Service and Repair

Passenger's Side Vent Removal/ Installation

NOTE:
- When prying with a flat-tip screwdriver, wrap it with protective tape, and apply protective tape around the related parts to prevent damage.
- Take care not to scratch the dashboard and related parts.




1. Remove the passenger's side vent (A).
1. Carefully insert a flat-tip screwdriver next to the right pivot (B).
2. Release the pivot by prying on the vent.
3. Remove the vent by releasing the left pivot portion (C).

2. Before reinstalling, make sure the left pivot bushing (D) is installed on the side vent housing (E) securely.
3. Reinstall the left pivot portion of the vent to the bushing first, then push the right pivot portion into place securely.