Operation CHARM: Car repair manuals for everyone.
Manuals through 2025 now available!

Our trusted friends have launched a new website named LEMON, which has newer manuals. It also contains all the CHARM manuals.

LEMON is the spiritual successor to CHARM, I recommend you try it!

Link: lemon-manuals.la or lemon-manuals.org.ua

(Some people have issue connecting. LEMON is investigating. For now, use Firefox or change your DNS server)

Or, hide this message: temporarily or permanently

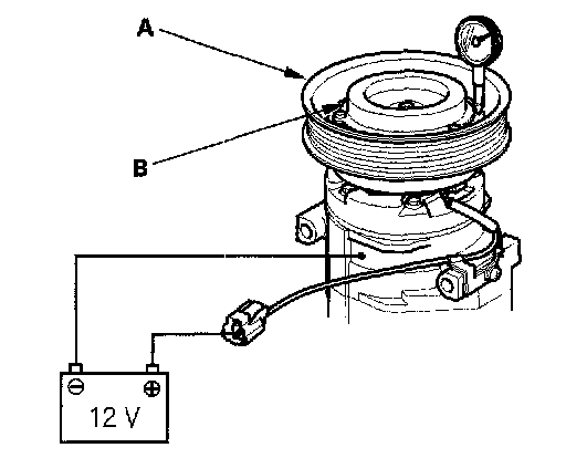
Compressor Clutch Check

Compressor Clutch Check

1. Check the plated parts of the pressure plate for color changes, peeling or other damage. If there is damage, replace the clutch set.




2. Check the pulley bearing play and drag by rotating the pulley by hand. Replace the clutch set with a new one if it is noisy or has excessive play/drag.




3. Measure the clearance between the pulley (A) and the pressure plate (B) with a dial indicator. Zero out the indicator, then apply battery voltage to the compressor clutch. Measure the movement of the pressure plate when the voltage is applied. If the clearance is not within the specified limits, the pressure plate must be re-shimed.

Clearance: 0.5 ± 0.15 mm (0.020 ± 0.006 in.)

NOTE: The shims are available in four thicknesses: 0.1 mm, 0.3 mm, 0.5 mm and 1.5 mm.




4. Check resistance of the field coil. If resistance is not within specifications, replace the field coil.