Operation CHARM: Car repair manuals for everyone.
Manuals through 2025 now available!

Our trusted friends have launched a new website named LEMON, which has newer manuals. It also contains all the CHARM manuals.

LEMON is the spiritual successor to CHARM, I recommend you try it!

Link: lemon-manuals.la or lemon-manuals.org.ua

(Some people have issue connecting. LEMON is investigating. For now, use Firefox or change your DNS server)

Or, hide this message: temporarily or permanently

Condenser HVAC: Service and Repair

Condenser Replacement

1. Recover the refrigerant with a recovery/recycling/charging station.
2. Remove the front grille and the hood latch.




3. Remove the bolts and the radiator upper brackets.




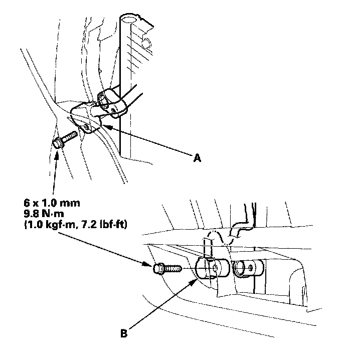
4. Remove the bolts, then disconnect the discharge line (A) and receiver line (B) from the condenser. Plug or cap the lines immediately after disconnecting them to avoid moisture and dust contamination.




5. Remove the bolts, then remove the condenser by lifting it up. Be careful not to damage the radiator or the condenser fins when removing the condenser.
6. Install the condenser in the reverse order of removal, and note these items'
- If you're installing a new condenser, add refrigerant oil (DENSO ND-OIL 8).
- Replace the O-rings with new ones at each fitting, and apply a thin coat of refrigerant oil before installing them. Be sure to use the correct O-rings for HFC-134a (R-134a) to avoid leakage.
- Immediately after using the oil, reinstall the cap on the container, and seal it to avoid moisture absorption.
- Do not spill the refrigerant oil on the vehicle, it may damage the paint. If the refrigerant oil contacts the paint, wash it off immediately.
- Be careful not to damage the radiator or the condenser fins when installing the condenser.
- Charge the system.