Operation CHARM: Car repair manuals for everyone.
Manuals through 2025 now available!

Our trusted friends have launched a new website named LEMON, which has newer manuals. It also contains all the CHARM manuals.

LEMON is the spiritual successor to CHARM, I recommend you try it!

Link: lemon-manuals.la or lemon-manuals.org.ua

(Some people have issue connecting. LEMON is investigating. For now, use Firefox or change your DNS server)

Or, hide this message: temporarily or permanently

Steering Column Lock: Service and Repair

Replacement
1. Remove the steering column.





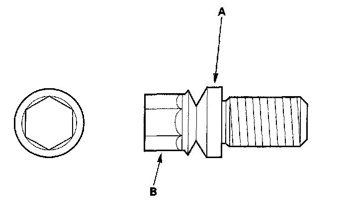
2. Center punch each of the two shear bolts, and drill their heads off with a 5 mm (0.20 inch) drill bit. Be careful not to damage the switch body when removing the shear bolts.
3. Remove the shear bolts from the switch body.
4. Install the switch body without the key inserted.
5. Loosely tighten the new shear bolts.
6. Insert the ignition key, and check for proper operation of the steering wheel lock and that the ignition key turns freely.





7. Tighten the shear bolts (A) until the hex heads (B) twist off.