Operation CHARM: Car repair manuals for everyone.
Manuals through 2025 now available!

Our trusted friends have launched a new website named LEMON, which has newer manuals. It also contains all the CHARM manuals.

LEMON is the spiritual successor to CHARM, I recommend you try it!

Link: lemon-manuals.la or lemon-manuals.org.ua

(Some people have issue connecting. LEMON is investigating. For now, use Firefox or change your DNS server)

Or, hide this message: temporarily or permanently

Removal




Removal

Special Tools Required:
- Engine hanger T/N 07XAA-001030A
- Engine hanger balance bar VSB02C00019
- Subframe adapter EQS07AODSY0

1. Before disconnecting the battery, make sure you have the anti-theft code for the radio, then write down the frequencies for the radio's preset stations.
2. Remove the bolt securing the lower portion of the windshield washer reservoir opening. Remove the support rod, then fix the hood in a vertical position using the support rod.





3. Remove the engine covers.
4. Remove the intake air duct, resonator cover, and air cleaner housing assembly.
5. Disconnect the battery negative terminal, then remove the battery positive terminal.
6. Remove the battery hold-down bracket, then remove the battery and battery tray.
7. Remove the battery cable clamps, connector, and relay bracket from the battery base.
8. Remove the battery base.
9. Raise the vehicle, and make sure it is securely supported.
10. Remove the splash shield.





11. Remove the drain plug (A), and drain the Automatic Transmission Fluid (ATF). Reinstall the drain plug and a new sealing washer (B).





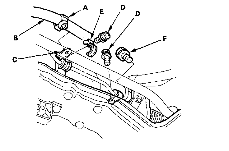
12. Remove the breather tube (A) from its clamp (B) on the radiator hose (C).





13. Remove the ATF cooler hose (A) from the clamp (B) on the starter, and paint a white dot (C) on the hose where it came off the clamp if the white dot is not painted.
14. Remove the ATF cooler hose (A) from the ATF cooler lines (D). Turn the ends of the ATF cooler hoses up to prevent ATF from flowing out, then plug the ATF cooler hoses and lines. Check for any signs of leakage at the hose joints.





15. Remove the starter cables (A) from the starter (B), then remove the starter.





16. Remove the harness clamps (B) from the brackets (D), then disconnect the connectors from the shift solenoid valves (A) and (C), A/T clutch pressure control solenoid valve (E), 4th clutch pressure switch (F), and mainshaft speed sensor (G).





17. Remove the 8P connector (C) from the connector bracket (D), then disconnect the connector.
18. Remove the harness clamps (E) from the brackets (F), then disconnect the connectors from the A/T clutch pressure control solenoid valves (A) and (B).





19. Disconnect the connectors from the torque converter clutch solenoid valve (A) and shift solenoid valve (B).





20. Remove the transmission range switch connector (A) from the connector bracket (B).
21. Disconnect the transmission range switch connector, then remove the harness clamp (C) from the bracket (D).
22. Disconnect the connector from the countershaft speed sensor (E).
23. Remove the bolts securing the harness cover (F), harness clamp (G), and bracket (H).





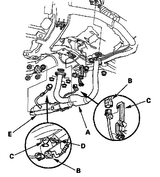
24. Remove the Primary Heated Oxygen Sensor (Primary HO2S) connector (A) from its connector bracket (B).
25. Disconnect the Primary HO2S connector (A), and remove the Primary HO2S harness from the harness clamp (C).





26. Remove the transmission housing mounting bolts (3).





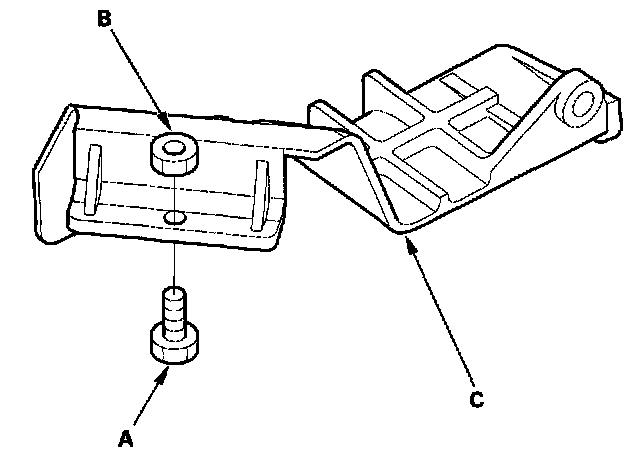
27. Remove the nut (A) from the front mount (B), and remove the ground cable (C) from the engine.





28. Lift and support the engine with engine support hanger (A) and engine balancer bar (B). Attach front arm (C) to the front cylinder head with a spacer (D) and the 10 x 1.25 mm bolt (E). Attach the rear arm (F) the rear cylinder head with the 8 x 1.25 mm bolt (G).





29. Remove the oxygen sensor connectors (B) from their connector brackets (C), and remove the harness from the clamps (D).
30. Remove the exhaust pipe (A) and three-way catalytic converter (E).





31. Remove the spring pins (A) and castle nuts (B), and separate the lower arms (C) from the knuckles (D).
32. Put a 6 mm Allen wrench (E) in the top of the joint pin (F), and remove the nut (G), then separate the stabilizer link (H).





33. Remove the bolts securing the shift cable holder (A), then remove the shift cable cover (B).

NOTE: To prevent damage to the control lever joint, remove the bolts securing the holder before removing the bolt securing the cover.

34. Remove the lock bolt (C) securing the control lever (D), then remove the shift cable (E) with the control lever. Do not bend the shift cable excessively.





35. Install a 6 x 1.0 x 14 mm bolt (A) and nut (B) on the shift cable cover (C), then reinstall the shift cable cover to the torque converter housing. If you don't do this, the bolt head of the cable cover may prevent you from removing the torque converter during transmission removal.





36. Remove the torque converter cover (A), then remove the eight drive plate bolts (B) one at a time while rotating the crankshaft pulley.
37. Remove the engine stiffener bolts (C).





38. Remove the clamp (A) on the power steering fluid return hose (B) from the bracket (C).
39. Remove the power steering fluid line bracket bolts (D) and bracket (E), and remove the steering gearbox mounting bolt (F).





40. Remove the stiffener (A), the steering gearbox mounting bolt (B) and nut (C).





41. Remove the steering gearbox mounting bolts (A) and nut (B), and remove the stiffener (C).
42. Remove the rear mount mounting bolts (D).





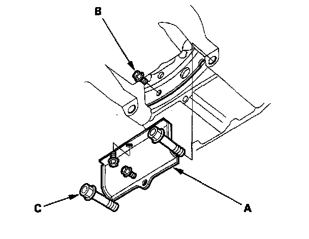
43. Unclamp the power steering fluid line clamps (A), and remove the bolt (B) securing the power steering fluid line bracket (C).





44. Remove the transmission lower mount nuts.





45. Make reference marks (A) on the body across the marks (B) on the edge of the front sub-frame (C).





46. Loosen the four bolts (A) holding the adjustable arms (B) of the front subframe adapter (T/N EQS07AODSY0) to it's center plate.

NOTE: The adapter is designed to be used with the Honda transmission jack (model number LSL-W93714) or powertrain lift (model number OTC-1585). It will also work with most commercially available transmission jacks.





47. Line up the slots in the arms with the bolt holes on the corner of the jack base, then attach the adapter to the jack base with the bolts (A) that came with the jack. Tighten the bolts securely.





48. Raise the jack to vehicle height, then attach the adapter to the front subframe by sliding the adapter's nut plates (B), between the subframe and body.
49. Insert the nut plate bolts through the holes in the adapter and the subframe; then thread the bolts (C) into the nut plates and tighten them to 54 N-m (40 lbf-ft).





50. Remove the 12 x 1.25 mm bolts (A), subframe mounting bolts (4) (B), and the stiffeners (C), then lower the sub-frame (D).





51. Remove the transmission lower mounts.
52. Pry the left driveshaft out of the differential and the right driveshaft from the intermediate shaft.





53. Move the left driveshaft to the front side. Coat all precision finished surfaces with clean engine oil, then tie the plastic bags over the driveshaft ends.





54. Remove the intermediate shaft.
55. Coat all precision finished surfaces with clean engine oil, then tie plastic bags over both ends of the intermediate shaft.





56. Remove the front mount bracket.





57. Remove the transmission housing mounting bolts.
58. Pull the transmission away from the engine until it clears the dowel pins, then lower it on the transmission jack.

NOTE: If the torque converter is stuck to the drive plate, pull it toward the transmission housing through the starter opening.





59. Remove the shift cable cover, then remove the torque converter assembly from the torque converter housing.
60. Inspect the drive plate, and replace it if it's damaged.





61. Remove the 6 x 1.0 x 14 mm bolt (A) and nut (B) from the shift cable cover (C).