Operation CHARM: Car repair manuals for everyone.
Manuals through 2025 now available!

Our trusted friends have launched a new website named LEMON, which has newer manuals. It also contains all the CHARM manuals.

LEMON is the spiritual successor to CHARM, I recommend you try it!

Link: lemon-manuals.la or lemon-manuals.org.ua

(Some people have issue connecting. LEMON is investigating. For now, use Firefox or change your DNS server)

Or, hide this message: temporarily or permanently

Sliding Door Window Glass: Service and Repair

Sliding Door Glass Replacement

NOTE:
- Put on gloves to protect your hands.
- Use seat covers to avoid damaging any surfaces.
- Wear eye protection while cutting the glass adhesive with piano wire.

1. Remove the sliding door panel.




2. Remove the upper seal (A) and molding (B) from the edge of the glass (C). If necessary, cut the upper seal and molding with a utility knife.




3. Apply protective tape (A) along the inside and outside edges of the sliding door as shown. Using an awl, make a hole through the adhesive (B) from inside the vehicle. Push a piece of piano wire (C) through the hole, and wrap each end around a piece of wood.




4. With a helper on the outside, pull the piano wire (A) back and forth in a sawing motion. Hold the piano wire as close to the sliding door glass as possible to prevent damage to the sliding door, and carefully cut through the adhesive around the entire sliding door glass.
5. Carefully remove the sliding door glass.
6. With a putty knife, scrape the old adhesive smooth to a thickness of about 2 mm (0.08 in.) on the bonding surface around the entire sliding door glass opening flange:
- Do not scrape down to the painted surface of the sliding door; damaged paint will interfere with proper bonding.
- Remove the fasteners from the sliding door.

7. Clean the sliding door bonding surface with a sponge dampened in alcohol. After cleaning, keep oil, grease and water from getting on the surface.




8. If the old door glass will be reinstalled, use a putty knife to scrape off all of the old adhesive and the rubber dam from the glass. Clean the shaded portion of the glass (A) with alcohol where new adhesive will be applied. Make sure the bonding surface is kept free of water, oil and grease.




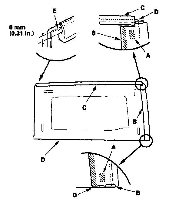
9. Attach the clip (A) and clip (B) with adhesive tape (3M 4215, or equivalent) to the inside surface of the glass (C) as shown. Be careful not to touch the glass where adhesive will be applied.




10. Apply primer (3M C-100, or equivalent) to the molding tape area (A) and glass primer to the adhesive areas (B) on the inside surface of the glass (C) as shown.




11. Apply primer to the areas (A) on each end of the molding (B).




12. Apply adhesive to the primed areas (A) on the inside surface of the glass, then attach the molding (B) with adhesive tape (3M 4211, or equivalent), and attach upper seal (C) with adhesive tape (NITTO 501M, or equivalent) to the inside surface of the glass (D) as shown:
- Be sure the glass and molding line up with the lower edge, and the upper seal lines up the alignment mark (E).
- Be careful not to touch the glass where adhesive will be applied.




13. Attach the rubber dam (A) with adhesive tape (NITTO 501M, or equivalent) to the inside surface of the glass (B) as shown. Be careful not to touch the glass where adhesive will be applied.




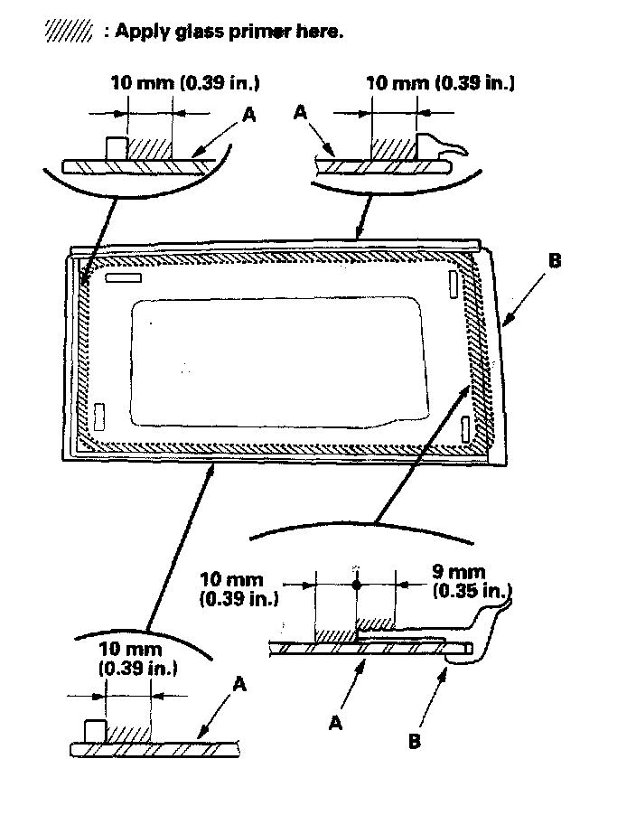
14. With a sponge, apply a light coat of glass primer along the edge of the glass (A) and molding (B) as shown, then lightly wipe it off with gauze or cheesecloth:
- Do not apply body primer to the sliding door glass, and do not get body and glass primer sponges mixed up.
- Never touch the primed surfaces with your hands. If you do, the adhesive may not bond to the sliding door glass properly, causing a leak after the sliding door glass is installed.
- Keep water, dust, and abrasive materials away from the primed surface.




15. With a sponge, apply a light coat of body primer to the original adhesive remaining around the sliding door glass opening flange. Let the body primer dry for at least 10 minutes:
- Do not apply glass primer to the body, and be careful not to mix up glass and body primer sponges.
- Never touch the primed surfaces with your hands.




16. Before filling a cartridge with adhesive, cut a "V" in the end of the nozzle (A) as shown.




17. Pack adhesive into the cartridge without air pockets to ensure continuous delivery. Put the cartridge in a caulking gun, and run a bead of adhesive (A) around the edge of the glass (B) as shown. Apply the adhesive within 30 minutes after applying the glass primer. Make a slightly thicker bead at each corner.




18. Use suction cups (A) to hold the sliding door glass over the opening, align it and set it down on the adhesive. Lightly push on the sliding door glass until its edges are fully seated on the adhesive all the way around. Do not open or close the doors until the adhesive is dry.
19. Scrape or wipe the excess adhesive off with a putty knife or towel. To remove adhesive from a painted surface or the rear window, use a soft shop towel dampened with alcohol.
20. Let the adhesive dry for at least 1 hour, then spray water over the sliding door glass and check for leaks. Mark any leaking areas, let the sliding door glass dry, then seal with sealant. Let the vehicle stand for at least 4 hours after sliding door glass installation. If the vehicle has to be used within the first 4 hours, it must be driven slowly.
21. Reinstall all remaining removed parts.

NOTE: Advise the customer not to do the following things for 2 to 3 days:

- Slam the doors with all the windows rolled up.
- Twist the body excessively (such as when going in and out of driveways at an angle or driving over rough,uneven roads).