Operation CHARM: Car repair manuals for everyone.
Manuals through 2025 now available!

Our trusted friends have launched a new website named LEMON, which has newer manuals. It also contains all the CHARM manuals.

LEMON is the spiritual successor to CHARM, I recommend you try it!

Link: lemon-manuals.la or lemon-manuals.org.ua

(Some people have issue connecting. LEMON is investigating. For now, use Firefox or change your DNS server)

Or, hide this message: temporarily or permanently

Wiper Motor: Testing and Inspection

Wiper Motor Test

Windshield:

1. Open the hood, and carefully remove the cap nuts and the wiper arms. Make sure they do not touch the hood.
2. Remove the hood seal and cowl cover.




3. Disconnect the 5P connector (A) from the motor (B).
4. Test the motor by connecting battery power to the No.4 terminal and ground to the No.2 terminal of the wiper motor 5P connector. The motor should run at low speed. If the motor does not run or fails to run smoothly, replace the motor.
5. Connect an analog voltmeter between the No.5 (+) and No.3 (-) terminals, and run the motor at low or high speed. The voltmeter should indicate 12 V and 4 V or less alternately.
6. If the motor test is not as specified, replace the windshield wiper motor.

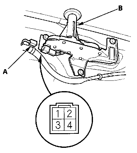
Rear Window:

1. Open the tailgate, and remove the tailgate lower panel.




2. Disconnect the 4P connector (A) from the motor (B).
3. Test the motor by connecting battery power to the No.1 terminal and ground, to the No.3 terminal of the 4P connector. The motor should run. If the motor does not run or fails to run smoothly, replace the motor.
4. Test the wiper motor park switch by connecting an analog voltmeter between the No.4 (+) terminal and ground, and run the motor. The voltmeter should indicate 12 V and 4 V or less alternately.
5. If the motor test is not as specified, replace the rear window wiper motor.