Operation CHARM: Car repair manuals for everyone.
Manuals through 2025 now available!

Our trusted friends have launched a new website named LEMON, which has newer manuals. It also contains all the CHARM manuals.

LEMON is the spiritual successor to CHARM, I recommend you try it!

Link: lemon-manuals.la or lemon-manuals.org.ua

(Some people have issue connecting. LEMON is investigating. For now, use Firefox or change your DNS server)

Or, hide this message: temporarily or permanently

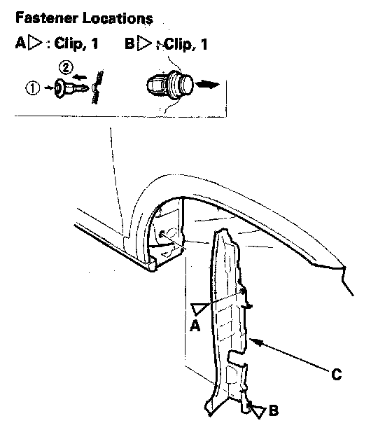
Front Fender Fairing

Front Fender Fairing Replacement

1. Remove the front inner fender as necessary.
2. For left front fender fairing removal, remove the washer reservoir.




3. Open the front door. From outside the door, remove the upper clip, and from inside the door, remove the lower clip securing the front fender fairing (A) and front fender (B).




4. From the wheel arch, remove the clip (A) and release the clip (B), then remove the front fender fairing (C).




5. Install the fender fairing in the reverse order of removal, and note these items:
- Check the clips for damage or stress-whitening, and replace them with new one.
- Before installing the clips of the door upper and lower portions, install the front fender fairing (A) to the front fender (B) properly as shown.
- Push the clips into place securely.