Operation CHARM: Car repair manuals for everyone.
Manuals through 2025 now available!

Our trusted friends have launched a new website named LEMON, which has newer manuals. It also contains all the CHARM manuals.

LEMON is the spiritual successor to CHARM, I recommend you try it!

Link: lemon-manuals.la or lemon-manuals.org.ua

(Some people have issue connecting. LEMON is investigating. For now, use Firefox or change your DNS server)

Or, hide this message: temporarily or permanently

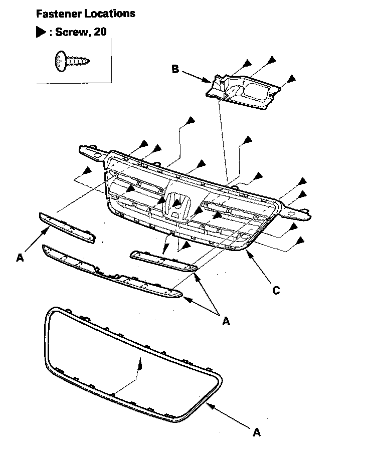
Grille: Service and Repair

Front Grille Replacement

1. Remove the front bumper.




2. Remove the screws (A) (U.K.-produced models) and clips (B). Remove the front grille (C) from the front bumper (D) by pulling it out. Take care not to scratch the front bumper.




3. U.K.-produced models: If necessary, remove the screws, then remove the grille moldings (A) and the splash shield (B) from the front grille base (C).




4. Japan-produced models: If necessary, remove the screws (A, B), then remove the grille moldings (C), the emblem plate (D), the grille top base (E), and the splash shield (F) from the front grille bottom base(G).
5. Install the grille in the reverse order of removal, and note these items:
- Check the clips for damage or stress-whitening, and replace them with new one.
- Push the clips into place securely.