Operation CHARM: Car repair manuals for everyone.
Manuals through 2025 now available!

Our trusted friends have launched a new website named LEMON, which has newer manuals. It also contains all the CHARM manuals.

LEMON is the spiritual successor to CHARM, I recommend you try it!

Link: lemon-manuals.la or lemon-manuals.org.ua

(Some people have issue connecting. LEMON is investigating. For now, use Firefox or change your DNS server)

Or, hide this message: temporarily or permanently

Fluid - M/T: Service and Repair

Transmission Fluid Inspection and Replacement
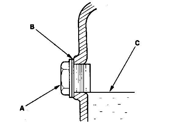
1. Park the vehicle on level ground, and turn the ignition switch to LOCK (0).





2. Remove the oil filler plug (A) and washer (B), check the condition of the fluid, and make sure it is at the proper level (C).





3. If the fluid is dirty, remove the drain plug (D), and drain the fluid.
4. Install the drain plug with a new washer, and refill the transmission fluid to the proper level.
Fluid Capacity
1.9 L (2.0 US qt) at fluid change
2.3 L (2.4 US qt) at overhaul
Always use Honda Manual Transmission Fluid (MTF). Using engine oil can cause stiffer shifting because it does not contain the proper additives.
5. Install the oil filler plug with a new washer.