Operation CHARM: Car repair manuals for everyone.
Manuals through 2025 now available!

Our trusted friends have launched a new website named LEMON, which has newer manuals. It also contains all the CHARM manuals.

LEMON is the spiritual successor to CHARM, I recommend you try it!

Link: lemon-manuals.la or lemon-manuals.org.ua

(Some people have issue connecting. LEMON is investigating. For now, use Firefox or change your DNS server)

Or, hide this message: temporarily or permanently

Shift Interlock Solenoid: Service and Repair

Shift Lock Solenoid Replacement





1. Remove the shift lever assembly.
2. Remove the harness from the harness clamp on the shift lever bracket base, and remove the harness band from the harness.





3. Pry the lock tabs on the D3 switch/shift lock solenoid/park pin switch connector (A) to release the lock (B).
4. Remove the terminal (C) from the connector by pushing the lock tab (D) up in the connector using a thin blade screwdriver (E). Remove all six terminals.
5. Remove the shift lever cover.
6. Remove the shift lack solenoid.





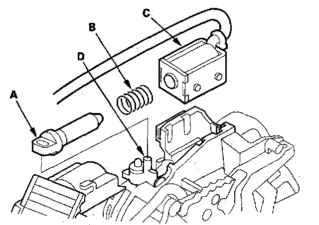
7. Install the shift lock solenoid plunger (A) and plunger spring (B) in the new shift lock solenoid (C).
8. Install the shift lock solenoid by aligning the joint of the shift lock solenoid plunger with the tip of the shift lock stop (D).





9. Route the harnesses, and clamp them as shown.





10. Install the D3 switch harness terminals (A) in the No. 5 and No. 6 cavities. Either D3 switch harness terminal can be installed in the No. 5 and No. 6 cavities.
11. Install the park pin switch harness terminals (B) in the No. 1 and No. 2 cavities. Either park pin switch harness terminal can be installed in the No. 1 and No. 2 cavities.
12. Install the BLK harness terminal (C) of the shin lock solenoid in the No. 3 cavity and the RED harness terminal (D) in the No. 4 cavity. Make sure that all six terminals lock securely, then install the lock (E) securely.





13. Align the marks (A) on the harnesses, and tie the harness band (B) over the marks. Clamp the D3 switch harness (C) 15 mm (0.6 inch) (D) from the harness band.
14. Install the shin lever cover.
15. Install the shin lever assembly.
16. Check that the shift lock solenoid operates.