Operation CHARM: Car repair manuals for everyone.
Manuals through 2025 now available!

Our trusted friends have launched a new website named LEMON, which has newer manuals. It also contains all the CHARM manuals.

LEMON is the spiritual successor to CHARM, I recommend you try it!

Link: lemon-manuals.la or lemon-manuals.org.ua

(Some people have issue connecting. LEMON is investigating. For now, use Firefox or change your DNS server)

Or, hide this message: temporarily or permanently

Rear Door Window Regulator: Service and Repair

Rear Door Glass and Regulator Replacement

NOTE: Put on gloves to protect your hands.

1. Remove these items:

- Door panel
- Plastic cover, as necessary
- Rod protector




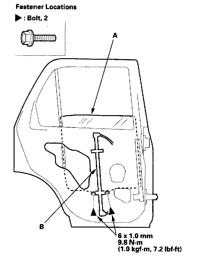
2. Carefully move the glass (A) until you can see the bolts, then remove them. Remove the glass from the regulator (B), and carefully lower the glass. Take care not to drop the glass inside the door.




3. Pull the glass run channel (A) away as needed. Pull back the door quarter glass seal (B), then remove the screw (C). Remove the bolts (D, E) securing the center channel (F), then remove the collar (G).




4. Pull the upper portion of the center channel (A) forward to remove it from the door quarter glass seal (B), and pull up the center channel. Take care not to scratch the door.




5. Remove the door quarter glass (A) and seal (B) as an assembly from the door.




6. Release the glass (A) from the center channel (B), and carefully remove the glass out through the window slot. Take care not to drop the glass inside the door.




7. Disconnect and detach the connector (A) from the door.
8. Remove the bolts (B), and loosen the bolts (C), then remove the regulator (D) through the hole in the door.




9. Apply multipurpose grease to the sliding surfaces of the regulator (A) where shown.
10. Install the glass and regulator in the reverse order of removal, and note these items:

- Make sure the motor connector is plugged in properly.
- Roll the glass up and down to see if it moves freely without binding.
- Make sure that there is no clearance between the glass and glass run channel when the glass is closed.
- Adjust the position of the glass as necessary.
- Check for water leaks.
- Test-drive and check for wind noise and rattles.
- When reinstalling the door panel, make sure the plastic cover is installed properly and sealed around its perimeter.