Operation CHARM: Car repair manuals for everyone.
Manuals through 2025 now available!

Our trusted friends have launched a new website named LEMON, which has newer manuals. It also contains all the CHARM manuals.

LEMON is the spiritual successor to CHARM, I recommend you try it!

Link: lemon-manuals.la or lemon-manuals.org.ua

(Some people have issue connecting. LEMON is investigating. For now, use Firefox or change your DNS server)

Or, hide this message: temporarily or permanently

IMA System Service Precautions

IMA System Service Precautions

- The Insight IMA (Integrated Motor Assisted) system uses high voltage (144 V) circuits. Be sure to shut off the electrical circuits and isolate the IMA system and related parts before you work on them.
- High voltage cables and their covers are identified by orange coloring. Caution labels are attached to high voltage and other related parts. Be careful not to touch these cables and parts without using adequate protective gear. The front floor under-cover protecting the high voltage cables is marked with this symbol.
- If the 12 V battery has been discharged, or either of its cables has been disconnected, or the MCM (Motor Control Module) has been reset, the IMA battery level indicator (BAT) will not indicate the state of charge when you start the engine. To correct this, start the engine, and hold it 3,500 with no load (in neutral) until the IMA battery level indicator (BAT) functions properly.
- Follow these instructions when you inspect or service the IMA system.

- If the IMA system indicator is on, troubleshoot the IMA system first.
- Wear insulated gloves whenever you inspect or service the IMA system. Be sure to check the gloves for pin holes, tears, and other damage.
- Turn the battery module switch OFF, and secure it in the OFF position with the locking cover before you work on the IMA system.
- Wait at least 5 minutes for the condensers to discharge after you turn off the battery module switch.
- Before you disconnect the high voltage cable terminals, make sure the voltage between them is about 0 V when measured with a voltmeter.

- When working on or around parts with no insulation, be sure to use insulated tools to prevent short circuiting.
- The motor rotor contains very strong magnets and should be handled with special care. People with pacemakers or other magnetically sensitive medical devices should not handle the rotor.
- Use the special tool to remove or install the rotor.

WARNING: If you try to install the rotor by hand, it will suddenly be pulled toward the stator with great force which could cause serious hand or finger injury. Always use the special tool to remove or install the rotor.

- Do not use the rotor if the fiberglass band around it is damaged. If the band breaks during use, magnets may come loose from the rotor.




- Keep the rotor away from magnetically sensitive devices such as credit or ID cards with magnetic strips on them.

- After disconnecting the high voltage terminals, busbar, etc., insulate the connections with electrical tape.
- Make two signs saying, "WORKING ON HIGH VOLTAGE PARTS. DO NOT TOUCH!" Attach one to the steering wheel, and set the other one near the parts you're working on.

Turning off power to the high voltage circuit

Follow this procedure before you work on or near any high voltage components. Follow it exactly, otherwise, you may injure yourself or damage equipment.

1. Turn the ignition switch OFF.
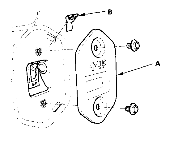
2. Remove the cargo floor mat.




3. Remove the battery module cover (A) from the IPU lid, and remove the locking cover (B) from the battery module switch.




4. Turn the switch (A) OFF, then turn the locking cover around (B) and put it back on the switch.
5. Wait for at least five minutes to let the condensers discharge.
6. Remove the IPU lid.




7. Measure voltage at the junction board terminals. There should be 30 V or less. If voltage is present, there is a problem in the circuit; do the DTC troubleshooting first.