Operation CHARM: Car repair manuals for everyone.
Manuals through 2025 now available!

Our trusted friends have launched a new website named LEMON, which has newer manuals. It also contains all the CHARM manuals.

LEMON is the spiritual successor to CHARM, I recommend you try it!

Link: lemon-manuals.la or lemon-manuals.org.ua

(Some people have issue connecting. LEMON is investigating. For now, use Firefox or change your DNS server)

Or, hide this message: temporarily or permanently

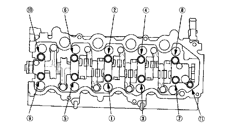
Rocker Arm Assembly and Camshaft







Apply engine oil to the bolt threads and flange. Tighten each bolt two turns at a time in sequence.
Specified torque:
8 mm bolts: 22 Nm (2.2 kgf-cm, 16 ft. lbs.)
6 mm bolt: 12 Nm (1.2 kgf-cm, 8.7 ft. lbs.)