Operation CHARM: Car repair manuals for everyone.
Manuals through 2025 now available!

Our trusted friends have launched a new website named LEMON, which has newer manuals. It also contains all the CHARM manuals.

LEMON is the spiritual successor to CHARM, I recommend you try it!

Link: lemon-manuals.la or lemon-manuals.org.ua

(Some people have issue connecting. LEMON is investigating. For now, use Firefox or change your DNS server)

Or, hide this message: temporarily or permanently

Windshield Washer Switch: Service and Repair

Wiper/Washer Switch Test/Replacement

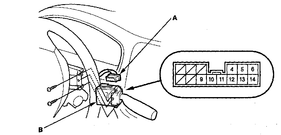
1. Remove the driver's dashboard lower cover.
2. Remove the steering column covers.




3. Disconnect the 14P connector (A) from the wiper/washer switch (B).
4. Remove the two screws, then pull out the wiper/washer switch.




5. Inspect the connector terminals to be sure they are all making good contact.
- If the terminals are bent, loose or corroded, repair them as necessary, and recheck the system.
- If the terminals look OK, check for continuity between the terminals in each switch position according to the tables.
- If there is no continuity, replace the switch.