Operation CHARM: Car repair manuals for everyone.
Manuals through 2025 now available!

Our trusted friends have launched a new website named LEMON, which has newer manuals. It also contains all the CHARM manuals.

LEMON is the spiritual successor to CHARM, I recommend you try it!

Link: lemon-manuals.la or lemon-manuals.org.ua

(Some people have issue connecting. LEMON is investigating. For now, use Firefox or change your DNS server)

Or, hide this message: temporarily or permanently

Overhaul

Alternator Overhaul




Exploded View

Special Tools Required
- Driver 07749-0010000
- Driver attachment, 42 x 47 mm 07746-0010300

NOTE: Refer to the Exploded View as needed during this procedure

Alternator Disassembly

1. Test the alternator and regulator before you remove them
2. Remove the alternator




3. Remove the four through bolts




4. Heat the rear bearing seat with a 1,000 W hair drier for about 5 minutes (129 - 140 °F, (50 - 60 °C)




5. Separate the rear housing from the drive-end housing by inserting a flat tip screwdriver into the openings and prying them apart.

NOTE: Be careful not to damage the stator with the tip of the screwdriver.




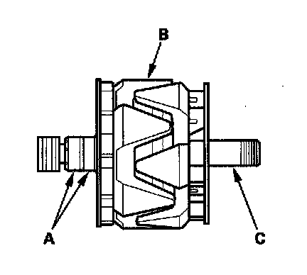
6. Separate the rear housing (A) and drive end housing (B) with the stator (C) attached to the rear housing.




7. If you are not replacing the front bearing and/or rear bearing, go to step 15. Clamp the rotor in a soft-jawed vise, then remove the pulley locknut.




8. Remove the rotor using a puller as shown.
9. Inspect the rotor shaft for galling, and inspect the bearing journal surface in the drive-end housing for seizure marks.
- If either the rotor or drive-end housing is damaged, replace the alternator.
- If both the rotor and the drive-end housing are OK, go to step 10.




10. Remove the rear bearing using the puller as shown.




11. Use a hand press to install the new rear bearing. Apply pressure only on the inner race to avoid damaging the bearing.




12. Remove the front bearing retainer plate.




13. Support the drive-end housing in a vise, and drive out the front bearing with a brass drift (A) and hammer.




14. With a hammer and the special tools, install a new front bearing in the drive-end housing.

Alternator Brush Inspection




15. Measure the length of both brushes with a vernier caliper.
- If either brush is shorter than the service limit, replace the rear housing assembly.
- If brush length is OK, go to step 16.

Rotor Slip Ring Test




16. Check for continuity between the slip rings (A).
- If there is continuity, go to step 17.
- If there is no continuity, replace the rotor assembly.

17. Check for continuity between each slip ring (A) and the rotor (B) and the rotor shaft (C).
- If there is no continuity, replace the rear housing assembly, then go to step 18.
- If there is continuity, replace the rotor assembly.

Alternator Reassembly

18. If you removed the pulley, put the rotor in the drive-end housing, then tighten its locknut to 111 N.m (11.3 kgf.m, 81.7 lbf.ft).
19. Remove any grease or oil from the slip rings.




20. Push the brushes (A) in, then insert a pin or drill bit (B) (about 1.8 mm (0.77 in) diameter) to hold them there.
21. Heat the rear bearing seat with a 1,000 W hair drier for about 5 minutes (129 - 140 °F, (50 - 60 °C)).




22. Put the rear housing assembly (A) and drive-end housing/rotor assembly (B) together, tighten the four through bolts (C), and pull out the pin (D).
23. After assembling the alternator, turn the pulley by hand to make sure the rotor rotates smoothly and without noise.
24. Reinstall the alternator, and adjust its belt tension.