Operation CHARM: Car repair manuals for everyone.
Manuals through 2025 now available!

Our trusted friends have launched a new website named LEMON, which has newer manuals. It also contains all the CHARM manuals.

LEMON is the spiritual successor to CHARM, I recommend you try it!

Link: lemon-manuals.la or lemon-manuals.org.ua

(Some people have issue connecting. LEMON is investigating. For now, use Firefox or change your DNS server)

Or, hide this message: temporarily or permanently

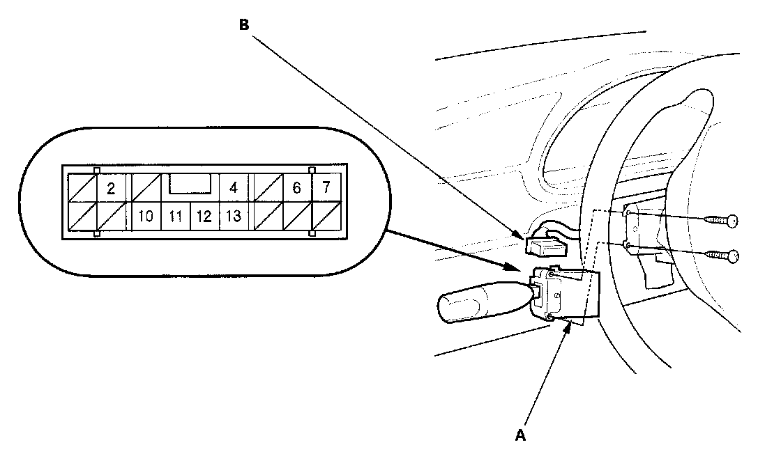
Combination Switch: Service and Repair

Combination Light Switch Test/Replacement

1. Remove the steering column covers.




2. Disconnect the 16P connector (B) from the combination light switch (A).
3. Remove the two screws, then pull out the switch.







4. Check for continuity between the terminals in each switch position according to the table. If the continuity check is not as specified, replace the switch.