Operation CHARM: Car repair manuals for everyone.
Manuals through 2025 now available!

Our trusted friends have launched a new website named LEMON, which has newer manuals. It also contains all the CHARM manuals.

LEMON is the spiritual successor to CHARM, I recommend you try it!

Link: lemon-manuals.la or lemon-manuals.org.ua

(Some people have issue connecting. LEMON is investigating. For now, use Firefox or change your DNS server)

Or, hide this message: temporarily or permanently

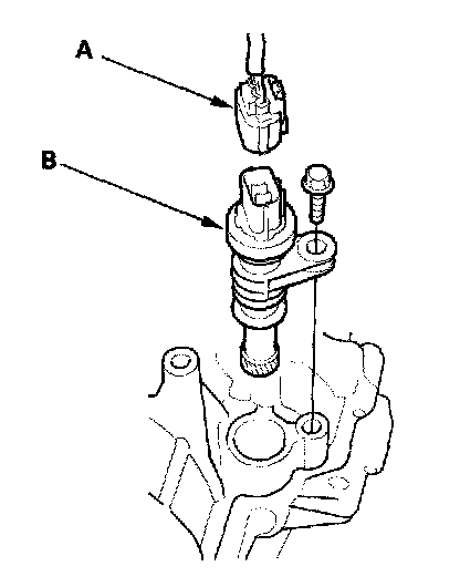
Vehicle Speed Sensor: Service and Repair

VSS Replacement




1. Disconnect the 3P connector (A) from the VSS (vehicle speed sensor) (B).
2. Remove the mounting bolt, then remove the VSS.
3. Install in the reverse order of removal.