Operation CHARM: Car repair manuals for everyone.
Manuals through 2025 now available!

Our trusted friends have launched a new website named LEMON, which has newer manuals. It also contains all the CHARM manuals.

LEMON is the spiritual successor to CHARM, I recommend you try it!

Link: lemon-manuals.la or lemon-manuals.org.ua

(Some people have issue connecting. LEMON is investigating. For now, use Firefox or change your DNS server)

Or, hide this message: temporarily or permanently

Pressure Test

Pressure Test

Special Tools Required
^ A/T oil pressure gauge set 07406-0020400 or 07406-0020401
^ A/T low pressure gauge 07406-0070300
^ A/T high pressure gauge 07AAJ-PLYA100
^ A/T pressure hose, 2,210 mm 07MAJ-PY4011A
^ A/T pressure hose adapter 07MAJ-PY40120

1. Before testing, be sure the transmission fluid filled to the proper level.
2. Raise the front of the vehicle, and make sure it is securely supported. Set the parking brake, and block rear wheels securely. Or lift up the vehicle.
3. Allow the front wheels to rotate freely.
4. Warm up the engine (the radiator fan comes on), then stop it, and connect the tachometer.
5. Remove the engine under cover on the transmission side.
6. Use the following special tools. Do not allow dust or other foreign particles to enter the holes while connecting the gauges.





NOTE:
^ Drive pulley pressure and driven pulley pressure may be above 3,430 kPa (35.0 kgf/cm2, 498 psi) when there is a transmission problem that causes the TCM to go into fail-safe mode.
^ When troubleshooting you must use the A/T high pressure gauge (07AAJ-PLYA100) when measuring drive pulley pressure and driven pulley pressure.





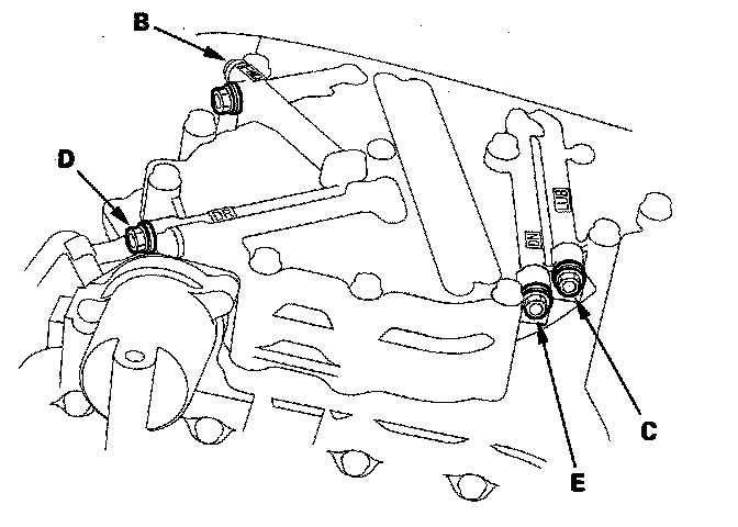
7. Connect the gauge (07406-0020400) to the reverse brake pressure inspection hole (A).





8. Connect the gauge (07406-0020400) to the forward clutch inspection hole (B).
9. Connect the low pressure gauge (07406-0070300) to the lubrication pressure inspection hole (C).
10. Connect the commercially available oil pressure gauges (specs described in step 6) to the drive pulley pressure inspection hole (D) and the driven pulley inspection hole (E).
11. Start the engine, and run it at 1,500 rpm.
12. Shift to the D position, and measure forward clutch pressure at the forward clutch pressure inspection hole (B).
Forward Clutch Pressure
2001-2003 models
Standard: 1.40 - 1.75 MPa (14.3 - 17.8 kgf/cm2, 203 - 253 psi)
2004-2005 models
Standard: 1.57 - 1.84 MPa (16.0 - 18.8 kgf/cm2, 228 - 267 psi)
13. Shift to the R position, and measure reverse brake pressure at the reverse brake pressure inspection hole (A).
Reverse Brake Pressure
2001-2003 models
Standard: 1.40 - 1.75 MPa (14.3 - 17.8 kgf/cm2, 203 - 253 psi)
2004-2005 models
Standard: 1.57 - 1.84 MPa (16.0 - 18.8 kgf/cm2, 228 - 267 psi)
14. Shift to the N position, and measure drive pulley pressure at the drive pulley inspection hole (D).
Drive Pulley Pressure
Standard: 0.20 - 0.70 MPa (2.0 - 7.1 kgf/cm2, 29 - 101 psi)
15. Measure driven pulley pressure et the driven pulley pressure inspection hole (E).
Driven Pulley Pressure
Standard: 1.50 - 2.30 MPa (15.3 - 23.5 kgf/cm2, 218 - 334 psi)
16. Measure lubrication pressure et the lubrication pressure inspection hole (C) while holding engine speed at 3,000 rpm.
Lubrication Pressure
Standard: 0.20 MPa (2.0 kgf/cm2, 28 psi) or more





17. If the measurements are out of standard, problems and probable causes are listed in the table:
18. Install the sealing bolt with a new sealing washer, and tighten the bolts to the specified torque.
Torque: 18 Nm (1.8 kgf-m, 13 ft. lbs.)

NOTE: Do not reuse old sealing washers.

19. Install the engine under cover.