Operation CHARM: Car repair manuals for everyone.
Manuals through 2025 now available!

Our trusted friends have launched a new website named LEMON, which has newer manuals. It also contains all the CHARM manuals.

LEMON is the spiritual successor to CHARM, I recommend you try it!

Link: lemon-manuals.la or lemon-manuals.org.ua

(Some people have issue connecting. LEMON is investigating. For now, use Firefox or change your DNS server)

Or, hide this message: temporarily or permanently

Repair and Diagnosis: Testing and Inspection

Power Relay Test

Normally-open type A

1. Turn the battery module switch OFF, and measure the voltage.










2. Check for continuity between the terminals.

- There should be continuity between the No. 1 and No. 2 terminals when power and ground are connected to the No. 3 and No. 4 terminals.
- There should be no continuity between the No. 1 and No. 2 terminals when power is disconnected.

- A/C compressor clutch relay
- A/C condenser fan relay
- Air/fuel ratio sensor relay
- Daytime running lights relay (Canada)
- Headlight relay 1
- Headlight relay 2
- High speed battery module fan control relay
- High speed motor power inverter module fan control relay
- High voltage contactor control relay
- Horn relay
- Ignition hold relay
- Low speed battery module fan control relay
- Low speed motor power inverter module fan control relay
- Power window relay
- Radiator fan relay
- Rear window defogger relay
- Reverse relay
- Starter cut relay
- Taillight relay

Normally-open type B

1. Turn the battery module switch OFF, and measure the voltage.
















2. Check for continuity between the terminals.

- There should be continuity between the No. 1 and No. 3 terminals when power and ground are connected to the No. 2 and No. 4 terminals.
- There should be no continuity between the No. 1 and No. 3 terminals when power is disconnected.

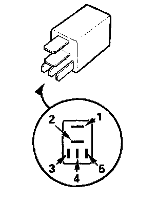
Five-terminal type

Check for continuity between the terminals.

- There should be continuity between the No. 1 and No. 2 terminals when power and ground are connected to the No. 3 and No. 5 terminals.




- There should be continuity between the No. 1 and No. 4 terminals when power is disconnected.
- Fan control relay
- Low beam cut relay (Canada)




- Windshield wiper intermittent relay