Operation CHARM: Car repair manuals for everyone.
Manuals through 2025 now available!

Our trusted friends have launched a new website named LEMON, which has newer manuals. It also contains all the CHARM manuals.

LEMON is the spiritual successor to CHARM, I recommend you try it!

Link: lemon-manuals.la or lemon-manuals.org.ua

(Some people have issue connecting. LEMON is investigating. For now, use Firefox or change your DNS server)

Or, hide this message: temporarily or permanently

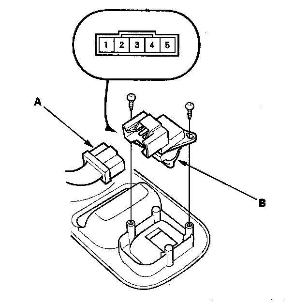
Passenger's Window Switch Test/Replacement

Passenger's Window Switch Test/Replacement

1. Remove the passenger's door panel.




2. Disconnect the 5P connector (A) from the passenger's power window switch (B).




3. Check for continuity between the terminals in each switch position according to the table.
4. If the continuity is not as specified, remove the two screws and replace the switch.