Operation CHARM: Car repair manuals for everyone.
Manuals through 2025 now available!

Our trusted friends have launched a new website named LEMON, which has newer manuals. It also contains all the CHARM manuals.

LEMON is the spiritual successor to CHARM, I recommend you try it!

Link: lemon-manuals.la or lemon-manuals.org.ua

(Some people have issue connecting. LEMON is investigating. For now, use Firefox or change your DNS server)

Or, hide this message: temporarily or permanently

Wireless Headphone Battery Replacement

Rear Controller and Screen Removal/Installation




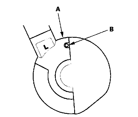
1. Insert a coin in the slot between the cover and earpiece of the wireless headphone, then twist it slightly to open the cover.




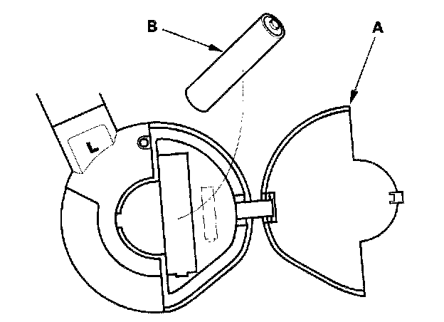
2. Pull the cover (A) outward, and pivot it out of the way.
3. Remove the batteries (B) from the wireless headphone.

Replacement Battery Size: AAA




4. Push the on/off button (A), and confirm that the indicator (B) comes on after the batteries are replaced.