Operation CHARM: Car repair manuals for everyone.
Manuals through 2025 now available!

Our trusted friends have launched a new website named LEMON, which has newer manuals. It also contains all the CHARM manuals.

LEMON is the spiritual successor to CHARM, I recommend you try it!

Link: lemon-manuals.la or lemon-manuals.org.ua

(Some people have issue connecting. LEMON is investigating. For now, use Firefox or change your DNS server)

Or, hide this message: temporarily or permanently

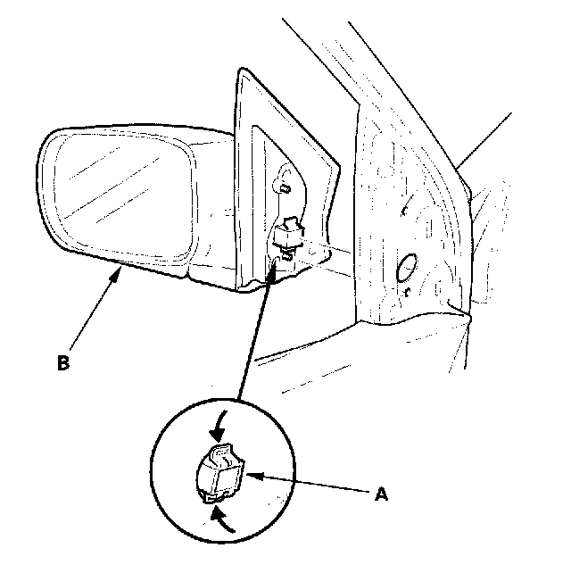
Power Mirror

Power Mirror Replacement

1. Lower the door glass fully.




2. Carefully detach the clips, and release the hooks (A, B), then pry out the mirror mount cover (C) by hand in the sequence shown.




3. Disconnect the connector (A).
4. While holding the mirror, remove the bolts securing the mirror.




5. While holding the mirror, push in on the connector clips (A), then push out to remove the mirror (B). Take care not to scratch the door.
6. Install the mirror in the reverse order of removal, and note these items:
- Make sure the connector is plugged in properly
- Replace any damaged clips.
- Push the clips into place securely.