Operation CHARM: Car repair manuals for everyone.
Manuals through 2025 now available!

Our trusted friends have launched a new website named LEMON, which has newer manuals. It also contains all the CHARM manuals.

LEMON is the spiritual successor to CHARM, I recommend you try it!

Link: lemon-manuals.la or lemon-manuals.org.ua

(Some people have issue connecting. LEMON is investigating. For now, use Firefox or change your DNS server)

Or, hide this message: temporarily or permanently

Front Seat

Front Seat Removal/Installation

Special Tools Required

KTC trim tool set SOJATP2014

SRS components are located in this area. Review the SRS component locations and the precautions and procedures before performing repairs or service.

NOTE:
- Use the appropriate tool from the KTC trim tool set to avoid damage when prying components.
- Take care not to scratch the body or tear the seat covers.
- Put on gloves to protect your hands.

1. Make sure you have the anti-theft code for the radio and the navigation system, then write down the frequencies for the radio preset buttons.
2. Slide the seat all the way forward to access the rear riser cover.




3. Detach the clips, then remove the rear riser cover (A).
4. Slide the seat to the rear, about halfway to access the front riser cover. If equipped with an 8-way power seat, fully raise the seat.




5. Detach the clips, then remove the front riser cover (A).
6. Disconnect the negative cable from the battery, and wait at least 3 minutes before continuing.




7. Remove the bolts securing the front seat (A).




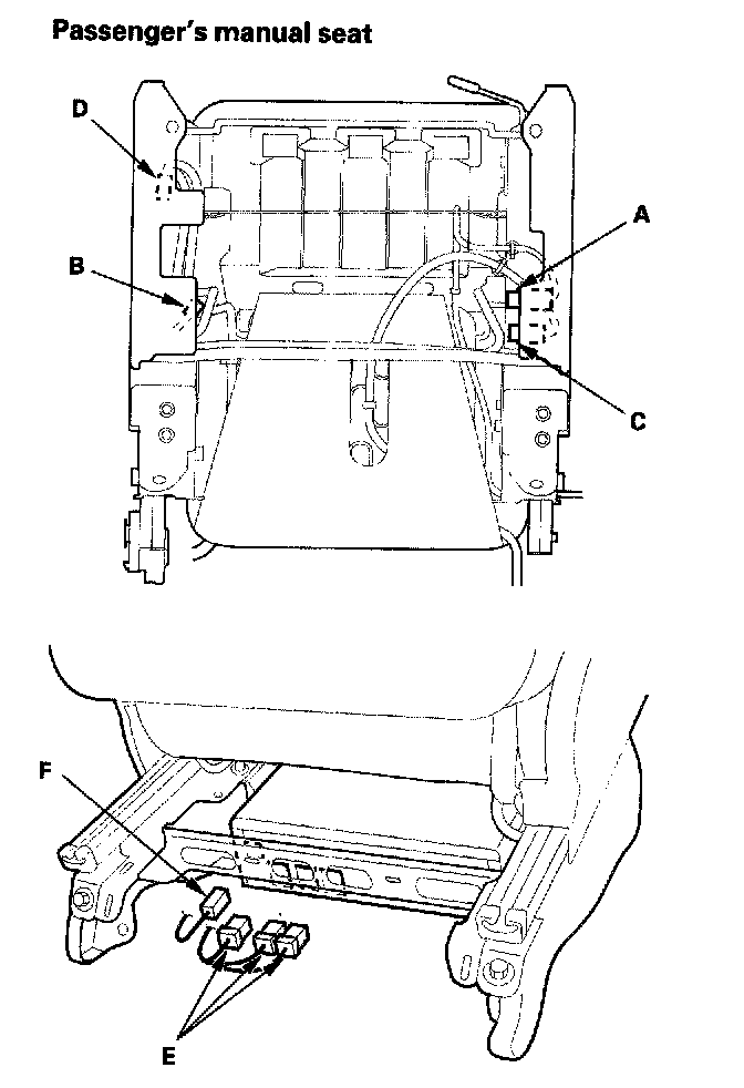
8. Tilt the front of the seat up, then disconnect the seat harness connector (A) (8-way power seat) or seat belt switch connector (B) (manual seat), side airbag harness connector (C), and seat position sensor connector (D).




9. Tilt the front of the seat up, then disconnect the seat harness connector (A), side airbag harness connector (B), and OPDS unit harness connector (C), and weight sensor unit connector (D). If equipped with navigation system, disconnect the navigation unit connectors (E) and GPS antenna harness connector (F).
10. Remove the headrest.
11. With the help of an assistant, carefully remove the front seat through the door opening.





12. Install the seat in the reverse order of removal, and note these items:
- Replace any damaged clips.
- Push the clips into place securely.
- Make sure each connector is plugged in properly.
- Make sure each wire harness is routed correctly, and not pinched.
- Apply liquid thread lock to the seat mounting bolts before reinstallation.
- Tighten the seat mounting bolts to the specified torque in the sequence shown. Slide the seat all the way back and tighten (1) and (2), then slide it forward and tighten (3) and (4).
- Reconnect the negative cable to the battery.
- Enter the anti-theft code for the radio, then enter the customer's radio station presets.
- Reset the clock.
- Do the PCM idle learn procedure and the power window control unit reset procedure.