Operation CHARM: Car repair manuals for everyone.
Manuals through 2025 now available!

Our trusted friends have launched a new website named LEMON, which has newer manuals. It also contains all the CHARM manuals.

LEMON is the spiritual successor to CHARM, I recommend you try it!

Link: lemon-manuals.la or lemon-manuals.org.ua

(Some people have issue connecting. LEMON is investigating. For now, use Firefox or change your DNS server)

Or, hide this message: temporarily or permanently

Side Impact Sensor Replacement

Side Impact Sensor Replacement

NOTE: Review the seat replacement procedure before doing repairs or service.

Removal

1. Disconnect the battery negative cable, and wait at least 3 minutes before beginning work.
2. Disconnect the appropriate side airbag 2P connector.
3. Remove the front seat assembly.
4. Remove the front side outer trim and the B-pillar lower trim.




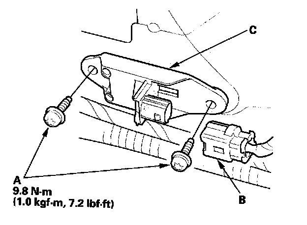
5. Disconnect the SRS floor harness 2P connector (A) from the side impact sensor (B).
6. Using a Torx T30 bit, remove the Torx bolt (A), then remove the side impact sensor (B).

Installation




1. Install the new side impact sensor with new Torx bolts (A), then connect the SRS floor harness 2P connector (B) to the side impact sensor (C).
2. Reconnect the battery negative cable.
3. After installing the side impact sensor, confirm proper system operation: Turn the ignition switch ON (II); the SRS indicator should come on for about 6 seconds and then go off.
4. Install all removed parts.