Operation CHARM: Car repair manuals for everyone.
Manuals through 2025 now available!

Our trusted friends have launched a new website named LEMON, which has newer manuals. It also contains all the CHARM manuals.

LEMON is the spiritual successor to CHARM, I recommend you try it!

Link: lemon-manuals.la or lemon-manuals.org.ua

(Some people have issue connecting. LEMON is investigating. For now, use Firefox or change your DNS server)

Or, hide this message: temporarily or permanently

Restraints and Safety Systems: Description and Operation

SRS Components

Airbags


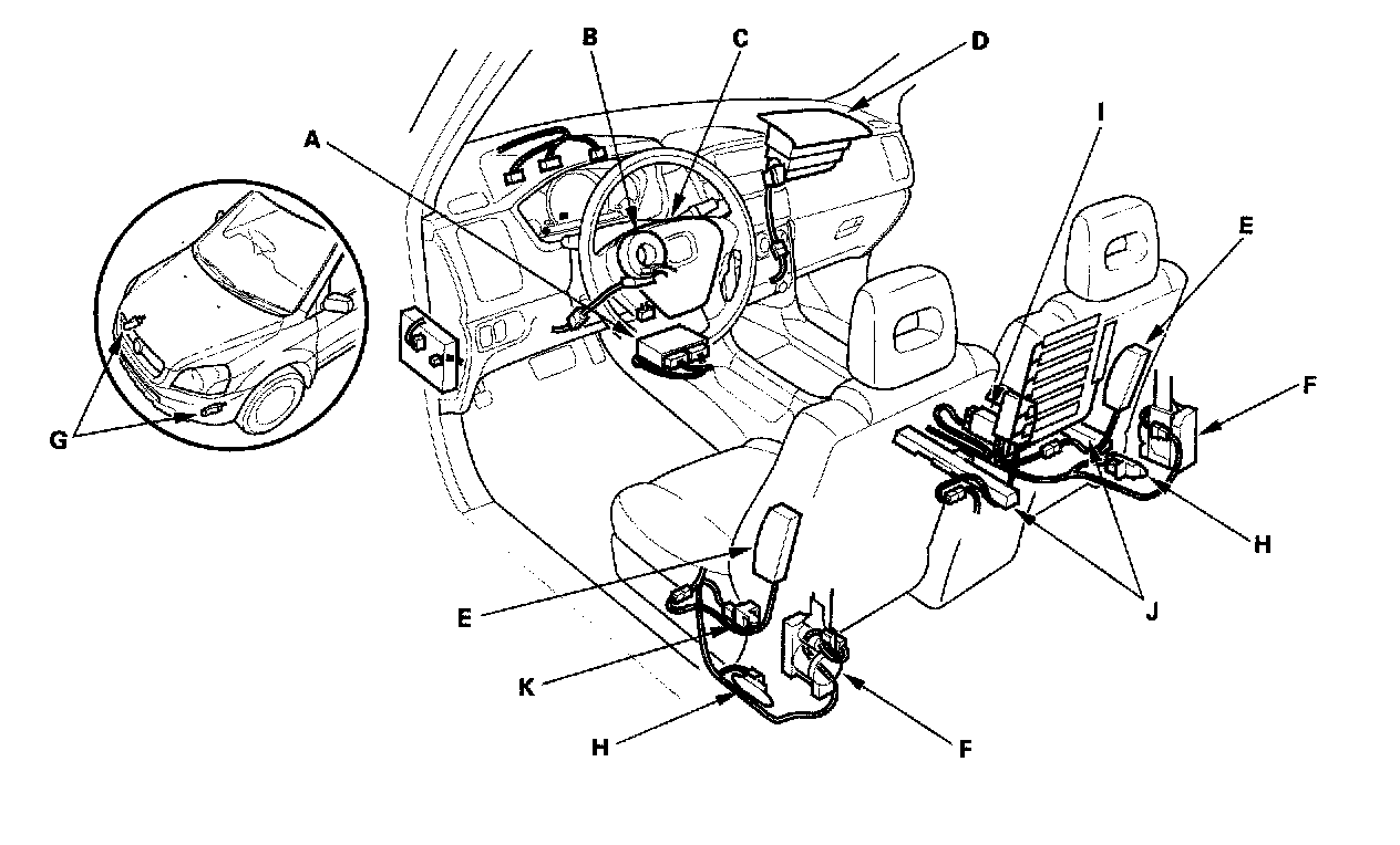
The SRS is a safety device which, when used with the seat belt, is designed to help protect the driver and front passenger in a frontal impact exceeding a certain set limit. The system consists of the SRS unit, including safing sensor and impact sensor (A), the cable reel (B), the driver's airbag (C), the front passenger's airbag (D), side airbags (E), seat belt tensioners (F), front impact sensors (G), side impact sensors (H). Since the driver's and front passenger's airbags use the same sensors, both normally inflate at the same time. However, it is possible for only one airbag to inflate. This can occur when the severity of a collision is at the margin, or threshold, that the SRS unit determines whether or not the airbags will deploy. In such cases, the seat belt will provide sufficient protection, and the supplemental protection offered by the airbag would be minimal.

Front Passenger's Weight Sensors

The front passenger's weight sensor unit (I) is under the front passenger's seat along with the weight sensors (J). The weight sensors detect the weight on the seat, and send the information to the front passenger's weight sensor unit. If the total weight is about 65 lbs (30 kg) or less, the front passenger's weight sensor unit sends a signal to the SRS unit to prevent the passenger's airbag from deploying. When the passenger's airbag is disabled, the passenger airbag cutoff indicator on the center panel comes on to alter the driver that the front passenger's airbag will not deploy in a front-end collision.

Driver's Seat Position Sensor




The driver's seat position sensor (K) is under the driver's seat on the left side. When the driver's seat is moved to its full forward position, the deployment of the driver's airbag is moderated to decrease its force of impact during a front-end collision.

Side Airbag Cutoff Indicator/OPDS Operation

The indicator comes on if the front passenger's seat is occupied by a small adult or child who is leaning into the deployment path, or an object (grocery bag, briefcase, purse, etc.) is in the seat. This indicates the passenger's side airbag is off and will not deploy; there is no problem with the side airbag. If the passenger sits upright or moves to another seat, or you remove the object from the seat, the light should go off.

Passenger Airbag Cutoff Indicator

The indicator comes on if the weight of the front passenger is about 65 lbs (30 kg) or less. This indicates the passenger's front airbag is off and will not deploy. The front airbag is shut off to reduce the chance of airbag-caused injuries.

SRS Operation

The main circuit in the SRS unit senses and judges the force of impact and, if necessary, ignites the inflator charges. If battery voltage is too low or power is disconnected due to the impact, the voltage regulator and the back-up power circuit will keep voltage at a constant level.

For the SRS to operate

Driver's and Front Passenger's Airbag(s)

1. A front impact sensor must activate, and send electric signals to the microprocessor.
2. The microprocessor must compute the signals, and depending on the severity of the collision and whether the seat belt buckle switch is ON or OFF, it sends the appropriate signals to the airbag inflator(s).
3. The microprocessor turns off the signals to the front passenger's airbag if the front passenger's weight sensor unit determines that the weight of the occupant in the front passenger's seat is about 65 lbs (30kg) or less.
4. When the driver's seat is moved to its full forward position, the seat position sensor sends a signal to the microprocessor to moderate the deployment of the driver's airbag.
5. The inflators that received signals must ignite and deploy the airbags.

Side Airbag(s)
1. A side impact sensor must activate, and send electric signals to the microprocessor.
2. The microprocessor must compute the signals and send them to the side airbag inflator(s). However, the microprocessor cuts off the signals to the front passenger's side airbag if the SRS unit determines that the front passenger's head is in the deployment path of the side airbag.
3. The inflator that received the signal must ignite and deploy the side airbag.




Self-diagnosis System

A self-diagnosis circuit is built into the SRS unit; when the ignition switch is turned ON (II), the SRS indicator comes on and goes off after about 6 seconds, if the SRS is operating normally. If the indicator does not come on, or does not go off after 6 seconds, or if it comes on while driving, it indicates an abnormality in the system. The system must be inspected and repaired as soon as possible. For better serviceability, the SRS unit memory stores a DTC that relates to the cause of the malfunction, and the unit is connected to the data link connector circuit. This information can be read with the HDS when it is connected to the DLC (16P).

NOTE: Before disconnecting the battery for troubleshooting, do the following. Before you disconnect the battery:

- Make sure you have the anti-theft code for the radio and the navigation system, then write down the frequencies for the radio's preset buttons. After you reconnect the battery:
- Do the power window control unit reset procedure.
- Enter the radio and navigation system anti-theft code, enter the radio station presets, and set the clock.