Operation CHARM: Car repair manuals for everyone.
Manuals through 2025 now available!

Our trusted friends have launched a new website named LEMON, which has newer manuals. It also contains all the CHARM manuals.

LEMON is the spiritual successor to CHARM, I recommend you try it!

Link: lemon-manuals.la or lemon-manuals.org.ua

(Some people have issue connecting. LEMON is investigating. For now, use Firefox or change your DNS server)

Or, hide this message: temporarily or permanently

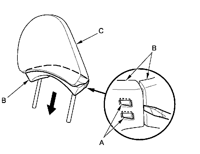
Head Rest: Service and Repair




Head Restraint Trim Replacement

NOTE:

- Put on gloves to protect your hands.
- Take care not to scratch the head restraint or the related parts.
- When prying with a flat-tip screwdriver, wrap it with protective tape to prevent damage.

1. Remove the head restraint.

2. Detach the hooks (A) of the head restraint trim (B) with a flat-tip screwdriver, then remove the trim from the head restraint (C).






3. Detach the hooks (A), then separate the head restraint trim (B) and the rear head restraint trim (C).






4. Install the trim in the reverse order of removal, and push the hooks into place securely.