Operation CHARM: Car repair manuals for everyone.
Manuals through 2025 now available!

Our trusted friends have launched a new website named LEMON, which has newer manuals. It also contains all the CHARM manuals.

LEMON is the spiritual successor to CHARM, I recommend you try it!

Link: lemon-manuals.la or lemon-manuals.org.ua

(Some people have issue connecting. LEMON is investigating. For now, use Firefox or change your DNS server)

Or, hide this message: temporarily or permanently

Cam Chain Installation




Cam Chain Installation

NOTE: Keep the cam chain away from magnetic fields.

1. Set the crankshaft to top dead center (TDC). Align the TDC mark (A) on the crankshaft sprocket with the pointer (B) on the oil pump.






2. Remove the crankshaft sprocket.

3. Set the camshaft to TDC. The "UP" mark (A) on the camshaft sprocket should be at the top, and the TDC grooves (B) on the camshaft sprocket should line up with the top edge of the head.






4. Install the cam chain on the crankshaft sprocket with the colored piece (A) aligned with the TDC mark (B) on the crankshaft sprocket, then install the crankshaft sprocket with the special key (C) to the crankshaft.






5. Install the cam chain on the camshaft sprocket with the pointers (A) aligned with the three colored pieces (B) as shown.






6. Install the cam chain tensioner (A) and the cam chain guide (B).






7. Install the cam chain tensioner slider, and loosely install the bolt.






8. Apply new engine oil to the sliding surface of the cam chain tensioner slider (A).





9. Rotate the cam chain tensioner slider clockwise to compress the cam chain tensioner, and install the remaining bolt, then tighten the bolts to the specified torque.

10. Check the cam chain case oil seal for damage. If the oil seal is damaged, replace the cam chain case oil seal Service and Repair.

11. Remove all of the old liquid gasket from the cam chain case mating surfaces, the bolts, and the bolt holes.

12. Clean and dry the cam chain case mating surfaces.

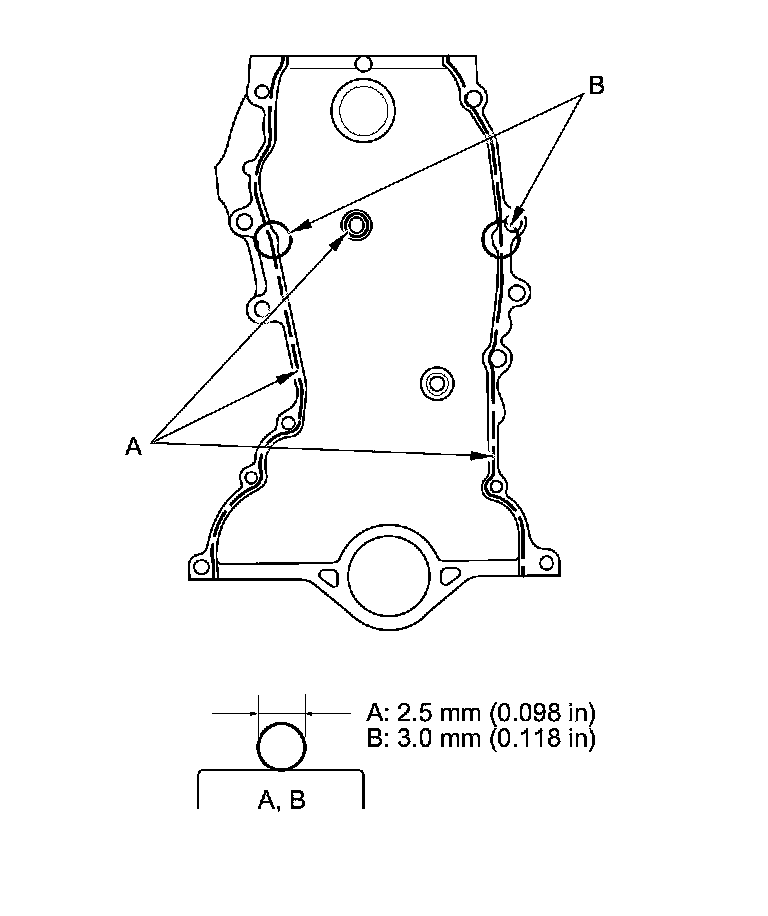
13. Apply liquid gasket (P/N 08718-0004) to the cylinder head and the engine block mating surfaces of the chain case and to the inside edge of the bolt holes. Install the component within 5 minutes of applying the liquid gasket.

NOTE:

- Apply a 2.5 mm (0.098 in) diameter bead of liquid gasket along the broken line (A).
- Apply a 3.0 mm (0.118 in) diameter bead of liquid gasket to the upper surface contact areas of the engine block (B).
- If too much time has passed after applying the liquid gasket, remove the old liquid gasket and residue, then reapply new liquid gasket.





14. Apply liquid gasket (P/N 08718-0004) to the oil pan mating surface of the chain case and to the inside edge of the bolt holes. Install the component within 5 minutes of applying the liquid gasket.

NOTE:

- Apply a 2.5 mm (0.098 in) diameter bead of liquid gasket along the broken line (A).
- Apply a 5.0 mm (0.197 in) diameter bead of liquid gasket to the shaded area (B).
- If too much time has passed after applying the liquid gasket, remove the old liquid gasket and residue, then reapply new liquid gasket.





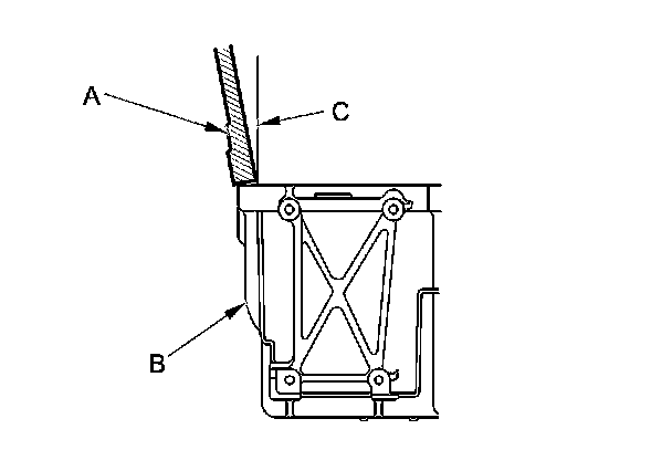
15. Set the edge of the chain case (A) on the edge of the oil pan (B), then install the chain case on the engine block (C).

NOTE:

- When installing the chain case, do not slide the bottom surface onto the oil pan mounting surface.
- Wait at least 30 minutes before filling the engine with oil.
- Do not run the engine for at least 3 hours after installing the chain case.





16. Tighten the chain case mounting bolts. Wipe off the excess liquid gasket from the oil pan and the chain case mating area.






17. Install the cylinder head cover Cylinder Head Cover Installation.

18. Install the side engine mount/bracket assembly (A), then tighten the new side engine mount/bracket assembly mounting bolts (B).





19. Loosely install the new side engine mount/bracket assembly mounting nuts (C).

20. Install the ground cable (D).

21. Remove the jack and the wood block.

22. Remove the air cleaner Service and Repair.

23. Loosen the transmission mount bracket mounting bolts and nuts (A).

M/T model





CVT model





24. Raise the vehicle on the lift.

25. Loosen the torque rod mounting bolt and nut (A).

M/T model





CVT model





26. Lower the vehicle on the lift.

27. Tighten the side engine mount/bracket assembly mounting nuts.






28. Tighten the transmission mount mounting bolts and nuts in the numbered sequence shown.

M/T model





CVT model





29. Raise the vehicle on the lift.

30. Tighten the torque rod mounting bolt and nut in the numbered sequence shown.

M/T model





CVT model





31. Lower the vehicle on the lift.

32. Install the air cleaner Service and Repair.

33. Install the A/C line bracket mounting bolt.






34. Install the crankshaft pulley.

35. Install the water pump pulley, loosely install water pump bolts Service and Repair.

36. Install the drive belt Service and Repair.

37. Tighten the water pump pulley mounting bolts.

38. Install the splash shield Splash Shield Replacement.

39. Install the right front wheel.

40. Do the CKP pattern clear/CKP pattern learn procedure.