Operation CHARM
: Car repair manuals for everyone.
Home
>>
Honda
>>
2011
>>
CR-Z L4-1.5L Hybrid
>>
Repair and Diagnosis
>>
Power and Ground Distribution
>>
Fuse Block
>>
Locations
>>
Connector Locations
Manuals through 2025 now available!
Our trusted friends have launched a new website named LEMON, which has newer manuals. It also contains all the CHARM manuals.
LEMON is the spiritual successor to CHARM, I recommend you try it!
Link:
lemon-manuals.la
or
lemon-manuals.org.ua
(Some people have issue connecting. LEMON is investigating. For now, use Firefox or change your DNS server)
Or, hide this message:
temporarily
or
permanently
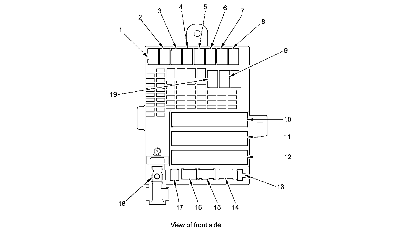
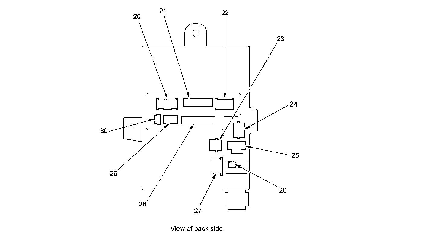
Connector Locations
Fuse/Relay Box Connector Locations
Battery Terminal Fuse Box
Under-Dash Fuse/Relay Box
Auxiliary Under-Hood Relay Box A
Auxiliary Under-Hood Relay Box B
Under-Dash Relay Holder A
Under-Dash Relay Holder B