Operation CHARM: Car repair manuals for everyone.
Manuals through 2025 now available!

Our trusted friends have launched a new website named LEMON, which has newer manuals. It also contains all the CHARM manuals.

LEMON is the spiritual successor to CHARM, I recommend you try it!

Link: lemon-manuals.la or lemon-manuals.org.ua

(Some people have issue connecting. LEMON is investigating. For now, use Firefox or change your DNS server)

Or, hide this message: temporarily or permanently

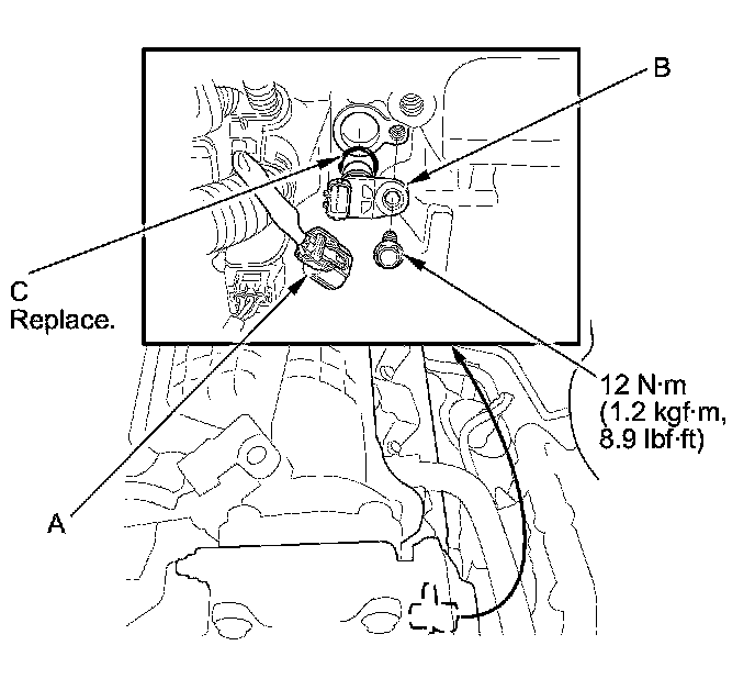
CMP Sensor Replacement




CMP Sensor Replacement

1. Remove the air cleaner Service and Repair.

2. Remove the cowl cover and the under-cowl panel.

3. Disconnect the CMP sensor connector (A).





4. Remove the CMP sensor (B).

5. Install the sensor in the reverse order of removal with a new O-ring (C).