Operation CHARM: Car repair manuals for everyone.
Manuals through 2025 now available!

Our trusted friends have launched a new website named LEMON, which has newer manuals. It also contains all the CHARM manuals.

LEMON is the spiritual successor to CHARM, I recommend you try it!

Link: lemon-manuals.la or lemon-manuals.org.ua

(Some people have issue connecting. LEMON is investigating. For now, use Firefox or change your DNS server)

Or, hide this message: temporarily or permanently

Component Tests and General Diagnostics




Charging System Indicator Circuit Troubleshooting

Charging system indicator stays on, no DTCs set

NOTE: If the 12 V battery voltage is too low to operate the starter motor, the charging system indicator may come on.

1. Turn the ignition switch to ON (II).

2. Check the DC-DC CONVERTER TEMPERATURE in the DATA LIST with the HDS.

Is 201-257 °F (94-125 °C) indicated?

YES -

The system is OK at this time. The charging system indicator will go off when the DC-DC converter temperature decreases. If the temperature does not decrease even though time has passed, replace the DC-DC converter Service and Repair.�

NO -

Go to step 3.

3. Do the gauge self-diagnostic function.

Does the charging system indicator flash?

YES -

Go to step 4.

NO -

Replace the gauge control module Service and Repair.�

4. Turn the ignition switch to LOCK (0).

5. Turn the battery module switch OFF.

6. Remove the IPU cover.

7. Remove the PCU lid, the PCU busplate, and the PCU cover.

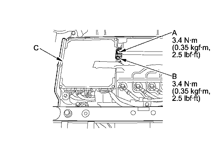
8. Check the connections at the high voltage terminals (A, B) on the DC-DC converter (C).





Are the connections OK?

YES -

Replace the DC-DC converter Service and Repair.�

NO -

Repair the connections.�

Charging system indicator flickers, no DTCs set

This indicator may blink after you start the engine in extremely cold weather (-22 °F (-30 °C) or below). It stops blinking when the battery module warms up.

Charging system indicator never comes on, no DTCs set

9. Turn the ignition switch to LOCK (0).

10. Connect the HDS to the DLC.

11. Turn the ignition switch to ON (II), and select the IMA SYSTEM.

Does the HDS communicate with the IMA system?

YES -

Go to step 4.

NO -

Do the DLC circuit troubleshooting DLC Circuit Troubleshooting (IMA System).�

12. Do the gauge self-diagnostic function Initial Inspection and Diagnostic Overview.

Does the charging system indicator flash?

YES -

The system is OK at this time.�

NO -

Replace the gauge control module Service and Repair.�