Operation CHARM: Car repair manuals for everyone.
Manuals through 2025 now available!

Our trusted friends have launched a new website named LEMON, which has newer manuals. It also contains all the CHARM manuals.

LEMON is the spiritual successor to CHARM, I recommend you try it!

Link: lemon-manuals.la or lemon-manuals.org.ua

(Some people have issue connecting. LEMON is investigating. For now, use Firefox or change your DNS server)

Or, hide this message: temporarily or permanently

Clutch Switch: Adjustments




Clutch Pedal and Clutch Pedal Position Switch Adjustment

NOTE:

- For a shift indicator operation problem, check clutch pedal position switch C Shift Indicator Lamp Troubleshooting (M/T).
- For a cruise control problem, check clutch pedal position switch B Clutch Pedal Position Switch B Test.
- For a clutch interlock operation problem, check clutch pedal position switch A Clutch Pedal Position Switch A Test.
- If there is no clearance between the master cylinder piston and the push rod, the release bearing will be held against the diaphragm spring, which can result in clutch slippage or other clutch problems.
- Before adjusting the clutch pedal and the clutch pedal position switch, check the clutch pedal and the clutch master cylinder are installed correctly and not damaged.

1. Remove the driver's dashboard undercover Driver's Dashboard Undercover Removal/Installation.

2. Disconnect the clutch pedal position switch B connector.

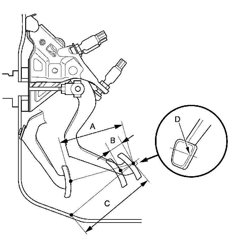
3. Loosen the locknut (A) of clutch pedal position switch B, and back off clutch pedal position switch B until it no longer touches the clutch pedal (C).






4. Pull the clutch pedal by hand, then turn clutch pedal position switch B until it contacts the clutch pedal.

5. Turn in clutch pedal position switch B an additional 3/4 to 1 turn. Make sure the clutch pedal height did not change.

6. While holding clutch pedal position switch B, tighten the locknut.

7. Connect the clutch pedal position switch B connector.

8. Measure the clutch pedal stroke (A).

- If the clutch pedal stroke is within the standard, go to step 10.
- If the clutch pedal stroke is not within the standard, go to step 9.






















*: Measure the clutch pedal height from right side middle of the clutch pedal cover or the clutch pedal pad cover (D) to the floor without the insulation.

9. Inspect the length of the clutch master cylinder push rod Service and Repair.

If the clutch master cylinder push rod was adjusted, go to step 2.

10. Loosen the locknut (B) of clutch pedal position switch A.





11. Connect the Honda diagnostic system (HDS) to the data link connector (DLC).

12. Turn the ignition switch to ON (II).

13. Make sure the HDS communicates with the vehicle. If it does not, go to the DLC circuit troubleshooting DLC Circuit Troubleshooting (IMA System).

14. Fully press the clutch pedal to the floor, then release the clutch pedal 15-20 mm (0.59-0.79 in) and hold it there.

NOTE: Measure the clutch pedal height from middle of the clutch pedal cover or the clutch pedal pad cover (C).

15. Check the CLUTCH PEDAL POSITION SWITCH A in the PGM-FI DATA LIST with the HDS.

16. Adjust clutch pedal position switch A when the HDS screen indicates CLOSE to OPEN.

NOTE: Be careful not to twist the wire.

17. While holding clutch pedal position switch A, tighten the locknut.

18. Loosen the locknut (A) of clutch pedal position switch C.






19. Fully press the clutch pedal to the floor, then release the clutch pedal 48-53 mm (1.89-2.09 in) and hold it there.

NOTE: Measure the clutch pedal height from middle of the clutch pedal cover or the clutch pedal pad cover (B).

20. Check the CLUTCH PEDAL POSITION SWITCH A (C) in the PGM-FI DATA LIST with the HDS.

21. Adjust clutch pedal position switch C when the HDS screen indicates CLOSE to OPEN.

NOTE: Be careful not to twist the wire.

22. While holding clutch pedal position switch C, tighten the locknut.

23. Check the clutch pedal does not contact to clutch pedal position switch A body and the clutch pedal position switch C body when fully pressing the clutch pedal to the floor.

24. Check the clutch operation.

25. Check the shift indicator operation and the clutch interlock operation.

26. Check the auto idle stop system Auto Idle Stop System Inspection (M/T).

27. Install the driver's dashboard undercover Driver's Dashboard Undercover Removal/Installation.