Operation CHARM: Car repair manuals for everyone.
Manuals through 2025 now available!

Our trusted friends have launched a new website named LEMON, which has newer manuals. It also contains all the CHARM manuals.

LEMON is the spiritual successor to CHARM, I recommend you try it!

Link: lemon-manuals.la or lemon-manuals.org.ua

(Some people have issue connecting. LEMON is investigating. For now, use Firefox or change your DNS server)

Or, hide this message: temporarily or permanently

Front Door Window Motor: Service and Repair




Power Window Motor Removal and Installation

Removal

1. Remove the door panel Door Panel Removal/Installation.

2. Remove the door glass and regulator Service and Repair.

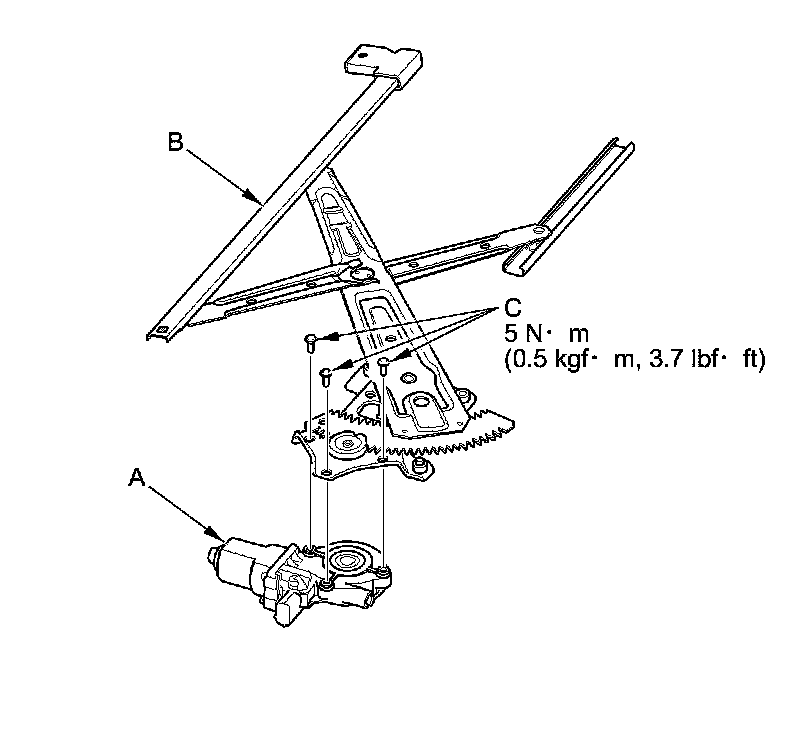
3. Remove the three screws (A), then remove the power window motor (B).






Installation

NOTE: The holes for the mounting screws (C) in a new power window motor (A) are not threaded. The screws cut threads in the holes the first time they are installed.

1. Install the power window motor (A) onto the regulator (B) as shown, and tighten the screws (C) until the screw head contacts with the linkage.

NOTE:

- Keep the screws (C) perfectly straight while screwing them in.
- Do not use the air tool and impact wrench.
- Do not use any other screws; these screws (C) are designed to cut the threads.





2. Loosen the screws (C), and retighten the screws to specified torque.

3. Install the door glass and regulator Service and Repair.

4. Install the door panel Door Panel Removal/Installation.

5. After replacement, reset the power window control unit Testing and Inspection.