Operation CHARM: Car repair manuals for everyone.
Manuals through 2025 now available!

Our trusted friends have launched a new website named LEMON, which has newer manuals. It also contains all the CHARM manuals.

LEMON is the spiritual successor to CHARM, I recommend you try it!

Link: lemon-manuals.la or lemon-manuals.org.ua

(Some people have issue connecting. LEMON is investigating. For now, use Firefox or change your DNS server)

Or, hide this message: temporarily or permanently

Lower Rear Window Replacement




Lower Rear Window Replacement

NOTE:

- Put on gloves to protect your hands.
- Wear eye protection while cutting the glass adhesive with piano wire.
- Use seat covers to avoid damaging any surface.
- Glass adhesive can be efficiently cut with a commercially available auto glass tool. See the tool manufacturer's instructions for details.
- Do not damage the lower rear window defogger grid lines and terminals.

1. Remove the hatch spoiler Service and Repair.

2. Disconnect the lower rear window defogger connectors (A).






3. Remove the rubber dam (A, B) from the edge of the lower rear window (C). If necessary, cut off the rubber dam with a utility knife.






4. Apply protective tape along the inside and outside edges of the hatch. Make holes with an awl through the adhesive from inside the vehicle at a corner of the lower rear window. Push a piece of piano wire through the hole and wrap each end around a piece wood.

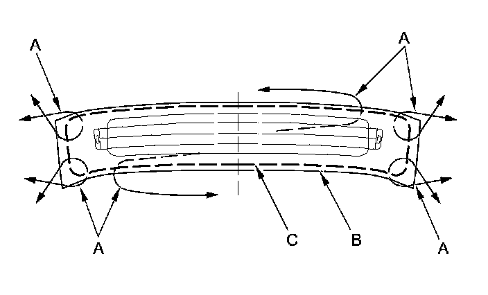
5. With a helper on the outside, pull the piano wire (A) back and forth in a sawing motion. Hold the piano wire as close to the lower rear window (B) as possible to prevent damage to the body, and carefully cut through the adhesive (C).






Cutting positions





6. Detach the clips that hold the lower rear window (A), then carefully remove the lower rear window.






7. Scrape smooth the old adhesive with a putty knife until there is a thickness of about 2 mm (0.08 in) on the bonding surface around the entire lower rear window opening flange.

NOTE: Do not scrape down to the painted surface of the body; damaged paint will interfere with proper bonding.

8. Clean the body bonding surface with a shop towel dampened in isopropyl alcohol. After cleaning, keep oil, grease, and water from getting on the surface.

9. If the old window will be installed, scrape off all of old adhesive, the clips, and the rubber dam from the lower rear window with a putty knife. Clean the bonding surfaces on the inside face and the edge of the lower rear window with isopropyl alcohol. Make sure the bonding surface is kept free of water, oil, and grease.

10. Remove the adhesive backing, and attach the rubber dam (A, B) to the inside of the lower rear window (C) as shown:

- Make sure the rubber dams line up with the alignment marks (D).
- Be careful not to touch the lower rear window where the adhesive will be applied.
- After installing the rubber dams, cut the ends of the rubber dam along the edge of the lower rear window.





11. Apply glass primer to the clip mounting areas on the lower rear window (C), and let it dry. Attach the fasteners (A, B) and the clips (D) with the adhesive tape to the inside face of the lower rear window as shown:

- Be careful not to touch the lower rear window where the adhesive will be applied.
- Make sure the fasteners and the clips line up with the alignment marks (E).





12. Attach the fasteners (A, B).






13. Apply a light coat of glass primer to the lower rear window (C) along the edge of the rubber dam (A, B) as shown, then lightly wipe it off with gauze or cheesecloth:

- Apply the glass primer to the corner areas of the lower rear window using the printed dots (D) on the lower rear window as a guide.
- Do not apply body primer to the lower rear window, and do not mix up the body primer applicators and the glass primer applicators.
- Never touch the primed surfaces with your hands. If you do, the adhesive may not bond to the lower rear window properly, causing a leak after the lower rear window is installed.
- Keep water, dust, and abrasive materials away from the primed surfaces.





14. Carefully apply a light coat of body primer to any exposed paint or metal around the flange where the new adhesive will be applied. Let the body primer dry for at least 10 minutes:

- Do not apply body primer to any remaining old adhesive on the flange.
- Be careful not to mix up the body primer applicators and the glass primer applicators.
- Never touch the primed surfaces with your hands.
- Cover the interior parts before applying the primer.





15. Cut a "V" in the end of the nozzle (A) on the adhesive cartridge as shown.






16. Pack adhesive into the cartridge without air pockets to ensure continuous delivery. Put the cartridge in a caulking gun, and run a continuous bead of adhesive (C) around the lower rear window (D) along the edge of the rubber dam (A, B) as shown:

- Use the printed dots (E) as a guide when you apply the adhesive to the corners of the lower rear window.
- Apply the adhesive within 30 minutes after applying the glass primer. Make a slightly thicker bead at each corner.





17. Hold the lower rear window (A) with suction cups over the opening, align the clips and fastener (B), and set it down on the adhesive. Lightly push on the lower rear window until its edges are fully seated on the adhesive all the way around.

NOTE: Do not open or close any of the doors for about an hour until the adhesive is dry.





18. Remove the excess adhesive with a putty knife or a shop towel dampened in isopropyl alcohol.

19. Wait at least an hour for the adhesive to dry, then spray water over the lower rear window and check for leaks. Mark the leaking areas, let the lower rear window dry, then seal with sealant. Let the vehicle stand for at least 4 hours after lower rear window installation. If the vehicle has to be used within the first 4 hours, it must be driven slowly.

20. Reinstall all removed parts.

NOTE: Advise the customer not to do the following things for 2 to 3 days:

- Slam the doors with all the windows rolled up.
- Twist the body excessively (such as when going in and out of driveways at an angle or driving over rough, uneven roads).