Operation CHARM: Car repair manuals for everyone.
Manuals through 2025 now available!

Our trusted friends have launched a new website named LEMON, which has newer manuals. It also contains all the CHARM manuals.

LEMON is the spiritual successor to CHARM, I recommend you try it!

Link: lemon-manuals.la or lemon-manuals.org.ua

(Some people have issue connecting. LEMON is investigating. For now, use Firefox or change your DNS server)

Or, hide this message: temporarily or permanently

Quarter Window Glass: Service and Repair




Quarter Glass Replacement

NOTE:

- Put on gloves to protect your hands.
- Wear eye protection while cutting the glass adhesive with a piano wire.
- Use seat covers to avoid damaging the seats.

1. Remove the center pillar trim.

2. Remove the quarter glass molding (A) from the edge of the quarter glass (B). If necessary, cut the molding with a utility knife.





3. Apply protective tape to along the inside and outside edges of the body. Make a hole with an awl through the adhesive from inside the vehicle. Push a piece of piano wire through the hole, and wrap each end around a piece of wood.

4. With a helper on the outside, pull the piano wire (A) back and forth in a sawing motion. Hold the piano wire as close to the quarter glass (B) as possible to prevent damage to the body, and carefully cut through the adhesive (C) around the entire quarter glass.






Cutting positions





5. With a helper on the out side, hold the quarter glass with suction cups, then detach the clips (A, B).





6. Carefully remove the quarter glass (C).

7. Scrape smooth the old adhesive with a putty knife until there is a thickness of about 2 mm (0.08 in) on the bonding surface around the entire quarter glass opening flange:

- Do not scrape down to the painted surface of the body; damaged paint will interfere with proper bonding.
- Remove the clips, the fasteners, and the rubber dams from the body.

8. Clean the body bonding surface with a shop towel dampened in isopropyl alcohol. After cleaning, keep oil, grease, and water from getting on the clean surface.

9. If the old quarter glass will be installed, scrape off the old adhesive and the rubber dam from the quarter glass with a putty knife. Clean the bonding surface on the inside face and the edge of the quarter glass with isopropyl alcohol. Make sure the bonding surface is kept free of water, oil, and grease.

10. Apply glass primer to the edge of the quarter glass (A), and let it dry. Remove the adhesive backing and attach the quarter glass molding (B) to the inside of the quarter glass.

- Be careful not to touch the quarter glass where the adhesive will be applied.





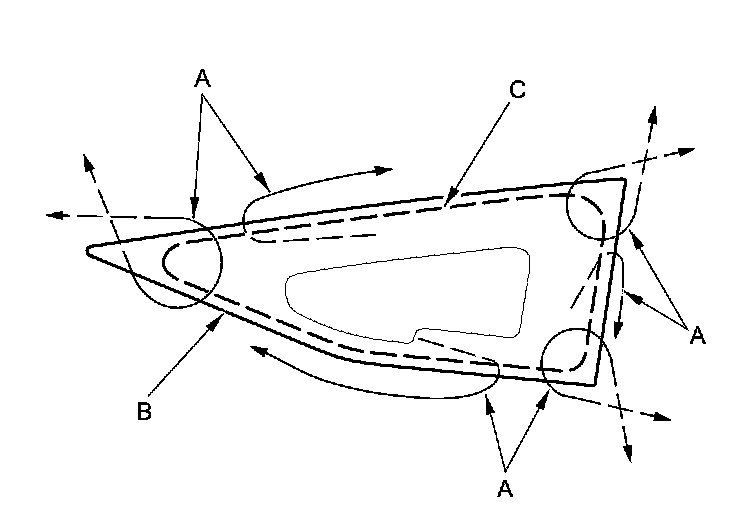
11. Apply glass primer to the clips mounting areas on the quarter glass, and let it dry. Remove the adhesive backing, and attach the rubber dam (C), the clips (D), the fasteners (E) and the seal (F) to the inside of the quarter glass as shown.

- Make sure the rubber dams, the fasteners, and the clips line up with the alignment marks (G).
- Be careful not to touch the quarter glass where the adhesive will be applied.

12. Attach the fastener with adhesive tape to the body as shown. Make sure the fastener aligns with the alignment mark (A).






13. Apply a light coat of glass primer along the edge of the quarter glass (A), the molding (B), and the rubber dam (C) as shown, then lightly wipe it off with gauze or cheesecloth:

- With the printed dots (D) on the quarter glass as a guide, apply the glass primer to the upper, lower, and rear corner portions of the quarter glass.
- Do not apply body primer to the quarter glass, and do not mix up the body primer applicators and glass primer applicators.
- Never touch the primed surfaces with your hands. If you do, the adhesive may not bond to the quarter glass properly, causing a leak after the quarter glass is installed.
- Keep water, dust, and abrasive materials away from the primed surfaces.





14. Carefully apply a light coat of body primer to any exposed paint or metal around the flange where new adhesive will be applied. Let the body primer dry for at least 10 minutes:

- Do not apply body primer to any remaining original adhesive on the flange.
- Be careful not to mix up the body primer applicators and glass primer applicators.
- Never touch the primed surfaces with your hands.
- Cover the interior parts before applying the primer.





15. Cut a "V" in the end of the nozzle (A) on the adhesive cartridge as shown.






16. Pack adhesive into the cartridge without air pockets to ensure continuous delivery. Put the cartridge in a caulking gun, and run a continuous bead of adhesive (A) around the edge of the quarter glass (B) and along the molding (C) and the rubber dam (D) as shown.

NOTE: Apply the adhesive within 30 minutes after applying the glass primer. Make a slightly thicker bead at each corner.






17. Hold the quarter glass (A) over the opening with suction cups, align it with the clips (B, C) and the fastener (D), and set it down on the adhesive. Lightly push on the quarter glass until its edges are fully seated on the adhesive all the way around.

NOTE: Do not open or close any of the doors for about an hour until the adhesive is dry.






18. Remove the excess adhesive with a putty knife or a shop towel dampened with isopropyl alcohol.

19. Wait at least one hour for the adhesive to dry, then spray water over the quarter glass and check for leaks. Mark leaking areas, and let the quarter glass dry, then seal with sealant. Let the vehicle stand for at least 4 hours after quarter glass installation. If the vehicle has to be used within the first 4 hours, it must be driven slowly.

20. Reinstall all remaining removed parts.

NOTE: Advise the customer not to do the following things for 2 to 3 days:

- Slam the doors with all the windows rolled up.
- Twist the body excessively (such as when going in and out of driveways at an angle or driving over rough, uneven roads).