Operation CHARM: Car repair manuals for everyone.
Manuals through 2025 now available!

Our trusted friends have launched a new website named LEMON, which has newer manuals. It also contains all the CHARM manuals.

LEMON is the spiritual successor to CHARM, I recommend you try it!

Link: lemon-manuals.la or lemon-manuals.org.ua

(Some people have issue connecting. LEMON is investigating. For now, use Firefox or change your DNS server)

Or, hide this message: temporarily or permanently

Navigation System: Service and Repair




CD, DVD, and PC Card Removal/Installation

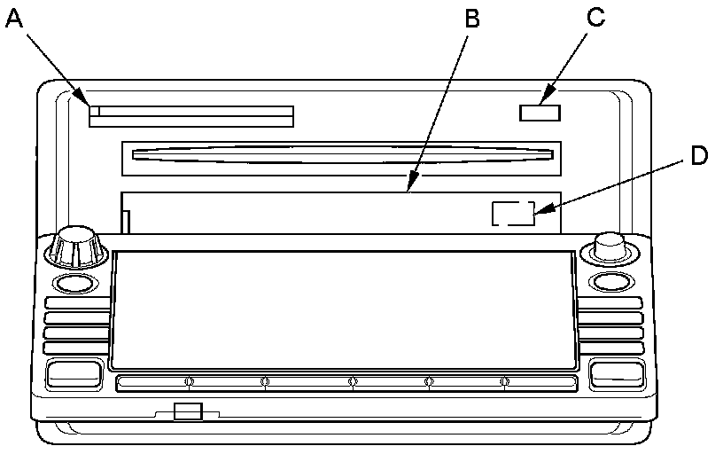
If the display Open and Close buttons do not work, you must manually open the display to remove the customer's Navigation DVD, CD, and possibly their PC card. Follow to the steps.

1. Remove the audio-navigation unit Audio-Navigation Unit Removal/Installation.

2. On the bench, carefully pull the display (A) straight out (about 1/2 inch).






3. Fold down the display as shown.






4. Push the PC card eject button (A) to eject the customer's PC card (if installed). Power is not required for this function.





5. Remove the plastic lid (B) over the navigation DVD slot.

6. With the display open, temporarily reconnect the unit in the dash (to power it up).

7. Push the CD eject button (C), and navigation DVD eject button (D) (the button is behind the plastic cover and works only when the unit is powered) and remove the discs (hold the discs by their edges to avoid fingerprints). To avoid scratches, place the navigation DVD and the customer's CD in a jewel case if available.

8. Re-attach the plastic lid that hides the navigation DVD slot.

9. Close the display by first returning the display to the upward position, and then pushing the entire display straight back into the unit.

10. After installing the new audio-navigation unit, re-insert the navigation DVD, the customer's CD, and the PC card.