Operation CHARM: Car repair manuals for everyone.
Manuals through 2025 now available!

Our trusted friends have launched a new website named LEMON, which has newer manuals. It also contains all the CHARM manuals.

LEMON is the spiritual successor to CHARM, I recommend you try it!

Link: lemon-manuals.la or lemon-manuals.org.ua

(Some people have issue connecting. LEMON is investigating. For now, use Firefox or change your DNS server)

Or, hide this message: temporarily or permanently

Connecting Rod: Service and Repair




Piston, Pin, and Connecting Rod Replacement

Special Tools Required

- Piston Base 07973-6570500
- Piston Base Spring 07973-6570600
- Piston Pin Base Insert 07973-6890400
- Piston Base Head 07PAF-0010400
- Pilot Collar 07973-6890300
- Piston Base Head Insert 07PAF-0010500
- Adjustable Piston Pin Driver Shaft 07973-6890200
- Adjustable Piston Pin Driver Head 07973-6570201

Disassembly

1. Assemble the piston base (A), the piston base spring (B), the piston pin base insert (C), and the piston base head (D) as shown.






2. Temporarily install the pilot collar over the piston pin base insert (A), and adjust the piston base head inserts as shown, then tighten the screws (B). Remove the pilot collar.






3. Assemble and adjust the length of the adjustable driver head and shaft to 57 mm (2.24 in).






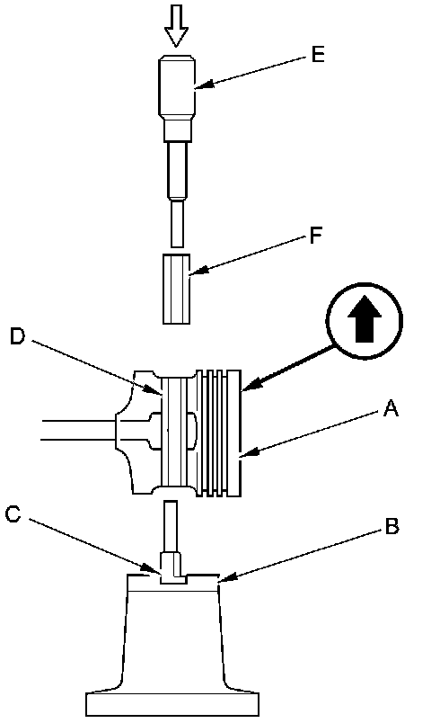
4. With the arrow on top of the piston pointing up, place the piston assembly (A) on the piston base (B).Be sure you position the recessed flat area of the piston against the piston base head inserts (C) as shown.





5. Press the piston pin (D) out with the adjustable piston pin driver head and shaft (E), the pilot collar (F), and a hydraulic press.

Inspection

NOTE: Inspect the piston, the piston pin, and the connecting rod when they are at room temperature.

1. Measure the diameter of the piston pin.

Piston Pin Diameter










2. Zero the dial indicator to the piston pin diameter.






3. Check the difference between the piston pin diameter and the piston pin hole diameter in the piston.

Piston Pin-to-Piston Clearance










4. Check the difference between the piston pin diameter and the connecting rod small end diameter.

Piston Pin-to-Connecting Rod Clearance










Reassembly

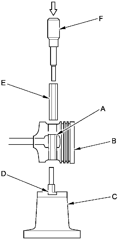
1. Assemble the piston with the arrow (A) pointing up and the connecting rod with the embossed marks (B) on the same side.






2. Insert the pilot collar (A) into the piston and the connecting rod.






3. With the arrow on top of the piston and the embossed mark on the connecting rod facing up, place the piston assembly (B) on the piston base (C). Be sure you position the recessed flat area of the piston against the piston base head inserts (D) as shown.

4. Press the piston pin (E) in with the adjustable piston pin driver head and shaft (F) and a hydraulic press.