Operation CHARM: Car repair manuals for everyone.
Manuals through 2025 now available!

Our trusted friends have launched a new website named LEMON, which has newer manuals. It also contains all the CHARM manuals.

LEMON is the spiritual successor to CHARM, I recommend you try it!

Link: lemon-manuals.la or lemon-manuals.org.ua

(Some people have issue connecting. LEMON is investigating. For now, use Firefox or change your DNS server)

Or, hide this message: temporarily or permanently

Climate Control System Description




Climate Control System Description

The air conditioning (A/C) system removes heat from the passenger compartment by transferring heat from the ambient air to the evaporator. The A/C system refrigerant expands in the evaporator, and the evaporator becomes very cold and absorbs the heat from the ambient air. The blower fan pushes air across the evaporator where the heat is absorbed, and then it blows the cool air into the passenger compartment.





This vehicle uses HFC-134a (R-134a) refrigerant, which does not contain chlorofluorocarbons. Pay attention to the following service items:

- Use only the required Polyol Ester (POE) refrigerant oil (SANDEN SE-10Y) designed for the R-134a A/C compressor. Intermixing the recommended (POE) refrigerant oil with any other refrigerant oil will result in A/C compressor failure. Using the wrong refrigerant oil can also be a safety hazard Service and Repair.
- All A/C system parts (A/C compressor, discharge line, suction line, evaporator, A/C condenser, receiver/dryer, expansion valve, O-rings for joints) are designed for refrigerant R-134a.
- Use a halogen gas leak detector designed for refrigerant R-134a.
- Use only a recovery/recycling/charging station that is U.L.-listed and is certified to meet the requirements of SAE J2788 to service the R-134a air conditioning systems.
- Always recover refrigerant R-134a with an approved recovery/recycling/charging station before disconnecting any A/C fitting.

A/C Compressor

The dual scroll hybrid A/C compressor is a twin chamber dual compressor, that can use both mechanical (belt-driven) and electric power (motor-driven) to compress refrigerant.

The mechanical side uses a normal electric clutch controlled by the climate control module, and is diagnosed using traditional diagnostic procedures.

The electric motor side uses a brushless, three-phase motor driven by a controller in the intelligent power unit (IPU). The climate control module controls the hybrid compressor motor operation, and actual motor speed is determined by the A/C compressor driver in the IMA battery module.






Compressor Operation Logic

The Hybrid A/C Compressor has 3 stages. The climate control module determines which stage the A/C compressor should be in and sends the request to the PCM.

Stage 1 (start up)- combined operation (mechanical and electric power).

Stage 2-Mechanical only

Stage 3-Variable speed electric motor only

NOTE: The system will not transition from stage 1 to stage 3 directly or from stage 3 to stage 1 directly. The A/C compressor transitions through each stage in sequence.

Stage 1. Uses both sides of the A/C compressor for maximum cool down. The electric motor runs at Maximum RPM anytime the evaporator temperature is above a predetermined threshold, and then drops the RPM as the evaporator temperature decreases.

Stage 2. The mechanically driven side is used when a stable temperature is reached inside the vehicle. This is determined by blower fan speed. If the fan speed is high, the electric compressor cannot maintain the evaporator temperature.

Stage 3. Once the vehicle's interior temperature stabilizes, the electric compressor is used to maintain the interior temperature. The PCM decides how fast to turn the electric compressor based on all inputs. If the interior temperature rises above the threshold value, the system switches to the mechanically driven compressor, and shuts down the electric compressor.

During idle stop, the A/C compressor speed initially drops to a maximum of 1,000 RPM to reduce under hood noise. The speed will then slowly increase when additional cooling is called for. Blower fan speed also adjusts with A/C compressor speed.

Auxiliary Electric Water Pump

A 12 V auxiliary electric water pump is used to circulate coolant to maintain heater performance during idle stop.

Auxiliary Electric Water Pump logic

The climate control unit operates the pump, based on an idle stop signal from the PCM. The pump maintains heater temperature during idle stop. However, using hot coolant from the engine will cool the engine. If the ECT temperature drops below a predetermined setting the engine will restart. There is also a temperature sensor located at the heater core. It is used to monitor the auxiliary electric water pump operation. If the pump fails, the temperature sensor detects rapid cooling of the heater core. In addition, the auxiliary electric water pump connector includes a second set of contacts to establish continuity through the connector. If these contacts open, the climate control unit will set a DTC.






A/C Compressor Driver

The A/C compressor driver supplies the A/C motor compressor with switched high voltage from the IMA battery module. The A/C compressor driver receives signals from the MCM/PCM and the climate control unit through a CAN Bus, which the compressor driver uses to match A/C compressor speed to the driving conditions and the cooling request. In case of a system failure the A/C compressor driver will communicate a DTC through the CAN Bus. The DTC is displayed through the HVAC and/or the IMA system depending on the failure.






Humidity/In-car Temperature Sensor

The humidity sensor consists of two sensors. One is for humidity detection, and the other is for in-car temperature detection. When the climate control unit receives signals about the in-car condition from the humidity sensor, and judges that the humidity in the vehicle is very low, the climate control unit reduces the A/C compressor run-time. Engine power loss is kept to a minimum, and fuel economy is increased.






Humidity/In-car Temperature Sensor Quality

The resistance of the humidity sensor changes by the adsorption and the evaporation of moisture. The resistance change of the humidity sensor changes the output voltage.






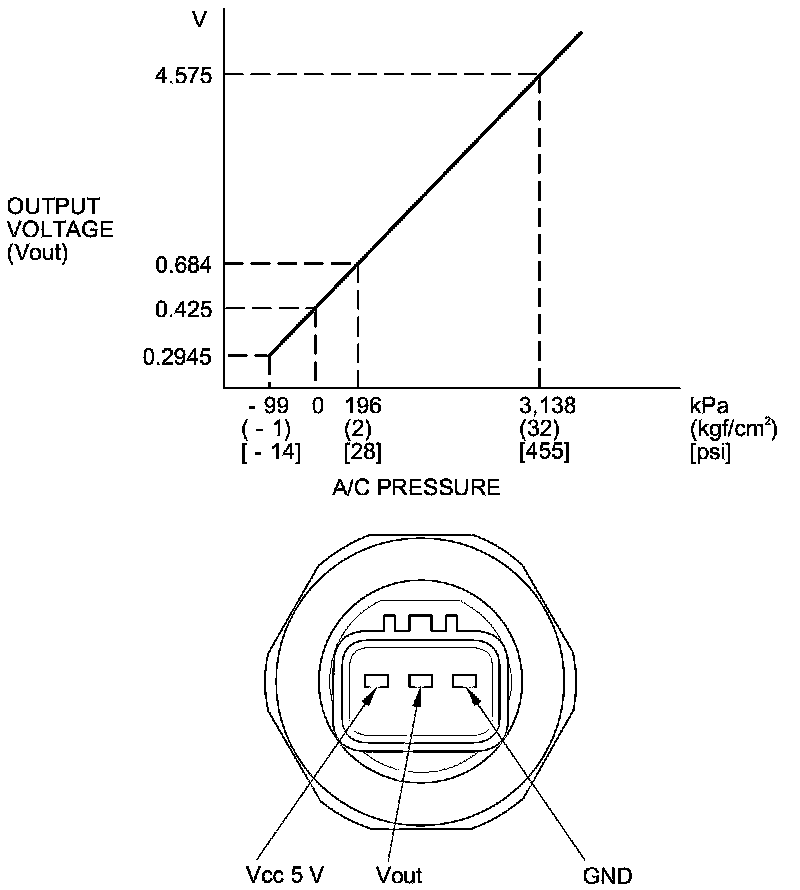
A/C Pressure Sensor

The A/C pressure sensor converts A/C pressure into electrical signals to the PCM.









The response of the A/C pressure sensor is shown in the graph.

NOTE: When the refrigerant is below 196 kPa (2.0 kgf/cm2, 28 psi) or above 3,138 kPa (32 kgf/cm2, 455 psi), the PCM turns the A/C compressor clutch relay off to protect the A/C compressor. When the refrigerant pressure is above 1,470 kPa (15.0 kgf/cm2, 213 psi), the PCM switches the radiator and A/C condenser fans to high speed.






Climate Control Door Positions










Climate Control Unit Inputs and Outputs




















Climate Control Unit Inputs and Outputs