Operation CHARM: Car repair manuals for everyone.
Manuals through 2025 now available!

Our trusted friends have launched a new website named LEMON, which has newer manuals. It also contains all the CHARM manuals.

LEMON is the spiritual successor to CHARM, I recommend you try it!

Link: lemon-manuals.la or lemon-manuals.org.ua

(Some people have issue connecting. LEMON is investigating. For now, use Firefox or change your DNS server)

Or, hide this message: temporarily or permanently

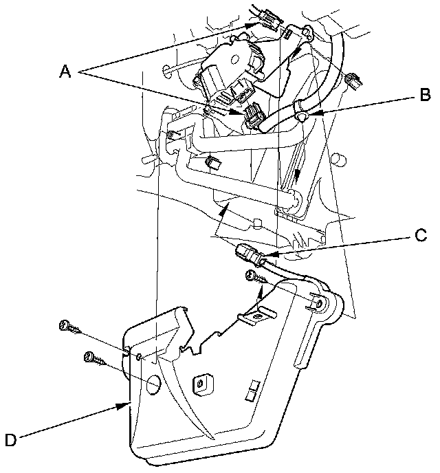
Heater Core Temperature Sensor / Switch: Service and Repair




Heater Core Temperature Sensor Replacement

1. Remove the driver's dashboard undercover Driver's Dashboard Undercover Removal/Installation.

2. Remove the center console Center Console Removal/Installation.

3. Remove the accelerator pedal module.

4. Disconnect the connectors (A) from the air mix control motor and heater core temperature sensor, then detach the harness clip (B) and the connector clip (C). Remove the self-tapping screws and the heater core cover (D).






5. Remove the heater core sensor (A).





6. Install the sensor in the reverse order removal.