Operation CHARM: Car repair manuals for everyone.
Manuals through 2025 now available!

Our trusted friends have launched a new website named LEMON, which has newer manuals. It also contains all the CHARM manuals.

LEMON is the spiritual successor to CHARM, I recommend you try it!

Link: lemon-manuals.la or lemon-manuals.org.ua

(Some people have issue connecting. LEMON is investigating. For now, use Firefox or change your DNS server)

Or, hide this message: temporarily or permanently

A/C System Evacuation




A/C System Evacuation

Special Tools Required

- Compact Electronic Vacuum Gauge Robinair ROB14777, commercially available
*

CAUTION
- Air conditioning refrigerant or lubricant vapor can irritate your eyes, nose, or throat.
- Be careful when connecting service equipment.
- Do not breathe refrigerant or vapor.


NOTE:

- If accidental system discharge occurs, ventilate the work area before resuming service.
- Additional health and safety information may be obtained from the refrigerant and lubricant manufacturers.
- Do not allow moisture to contaminate the A/C system oil. Moisture in the oil is difficult to remove, and it can damage the A/C compressor.
- Using a compact electrical vacuum gauge may decrease the required evacuation time because you can measure actual moisture removal with this tool.

A more efficient way to measure moisture removal is with a special tool called a compact electrical vacuum gauge, measuring vacuum levels in microns.

Connect the tool according to the manufacturers instructions and allow the vacuum pump to run until the gauge reads 700-750 microns (29.89 inHg).

Shut off and isolate the vacuum pump, then observe the gauge reading:

- If the vacuum level remains stable for at least three minutes, all moisture in the system has been removed.
- A slow increase in the micron reading means there is still moisture boiling out of the system. Restart the vacuum pump and continue evacuating.
- A quicker increase of micron levels indicates a leak is present in the system or your service equipment. Determine the cause and correct the leak before continuing.

1. When an A/C System has been opened to the atmosphere, such as during installation or repair, it must be evacuated using an R-134a refrigerant recovery/recycling/charging station. If the system has been open for several days, the receiver/dryer should be replaced. Recover the refrigerant, if any, from the A/C system A/C Refrigerant Recovery, and the system should be evacuated for several hours.

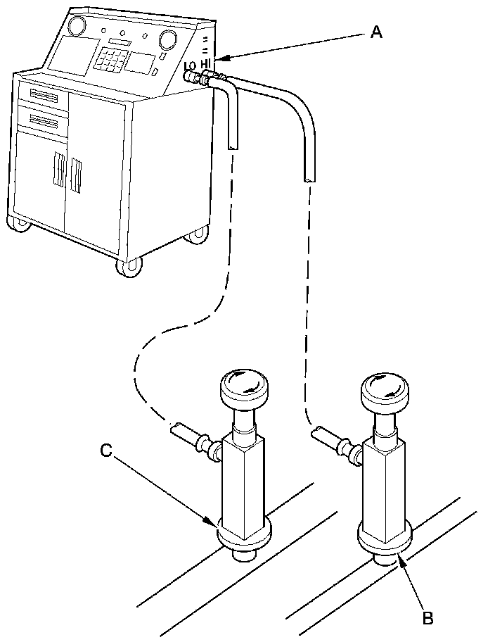
2. Connect an R-134a refrigerant recovery/recycling/charging station (A) to the high-pressure service port (B) and the low-pressure service port (C), as shown, following the equipment manufacturer's instructions. Recover the refrigerant, if any, from the A/C system A/C Refrigerant Recovery.





3. Evacuate the system. The vacuum pump should run for a minimum of 30 minutes to eliminate all moisture from the system. When the suction gauge reads -93.3 kPa (-700 mmHg, -27.6 inHg) for at least 30 minutes, close all valves, and turn off the vacuum pump.

4. If the suction gauge dose not reach approximately -93.3 kPa (-700 mmHg, -27.6 inHg) in 15 minutes, there is probably a large leak in the system. Partially charge the system, and check for leaks A/C Refrigerant Leak Check.