Operation CHARM: Car repair manuals for everyone.
Manuals through 2025 now available!

Our trusted friends have launched a new website named LEMON, which has newer manuals. It also contains all the CHARM manuals.

LEMON is the spiritual successor to CHARM, I recommend you try it!

Link: lemon-manuals.la or lemon-manuals.org.ua

(Some people have issue connecting. LEMON is investigating. For now, use Firefox or change your DNS server)

Or, hide this message: temporarily or permanently

IMA System Service Precautions




IMA System Service Precautions

IMA System

- The IMA (integrated motor assisted) system uses high voltage (158 V) circuits. Be sure to shut off the electrical circuits and isolate the IMA system and related parts before servicing the IMA system.
- The high voltage cables and their covers are identified by orange coloring. The caution labels are attached to high voltage and other related parts Danger/Warning/Caution Label Locations. Be careful not to touch these cables and parts without adequate protective gear.
The front floor under-cover protecting the high voltage cables is marked .
- If the 12 V battery is discharged, its cables have been disconnected, or the MCM (motor control module) has been reset, the IMA battery level gauge (BAT) does not display the state-of-charge (SOC) when the engine is first started. To display the level in the level gauge (BAT), start the engine, and hold it between 3,500 rpm and 4,000 rpm without load (in P or N) until the level in the level gauge (BAT) displays at least three segments.

- Observe the following instructions when inspecting or servicing the IMA system.
- When the system is energized, servicing, disassembling, or replacing items marked with in each procedure requires insulated tools.
- When the IMA system indicator is on, do the IMA system troubleshooting first Initial Inspection and Diagnostic Overview.
- Wear insulated gloves whenever you inspect or service the IMA system. Be sure to check the gloves for pin holes, tears, or other damage.
- To make sure the system is not energized, turn the battery module switch OFF, and secure the switch in the OFF position with the locking cover before servicing the IMA system (see Turning off and on power to the high voltage circuit).
- Wait at least 5 minutes after turning off the battery module switch, then disconnect the negative cable from the 12 V battery (it takes about 5 minutes for the PDU capacitor to discharge).
- Before disconnecting the high voltage cable terminals, use a voltmeter to make sure that the voltage between the terminals is below 30V.

- When the system is energized and you are servicing parts without an insulating sheath, be sure to use the insulated tools to prevent short circuiting.
- The rotor assembly contains very strong magnets and should be handled with special care. People with pacemakers or other magnetically sensitive medical devices should not handle the rotor assembly.
- Use the special tool (rotor puller) to remove or install the rotor assembly.

WARNING
If the rotor is installed by hand, it may suddenly be pulled toward the stator with great force, causing serious hand or finger injury. Always use the special tool (rotor puller) to remove or install the rotor assembly.

- Keep the rotor assembly away from magnetically sensitive devices.
- After disconnecting the high voltage terminals, busbars, etc., insulate the parts with insulating tape.
- As a safety warning, attach a sign saying, WORKING ON HIGH VOLTAGE PARTS. DO NOT TOUCH! to the steering wheel.

Disconnecting the motor power cable connector from the motor stator

Turn the ignition switch to LOCK (0). Turn the battery module switch OFF.

Slide the protector (A) in the direction of the arrow. Push the tab (B), then raise the lever (C). Remove the IMA motor power cable (D) from the motor stator.

NOTE:

- If the out side of the IMA motor power cable connector is dirty, clean it before you disconnect it.
- Cover the disconnected connector (E) with a plastic bag (F), and wrap the IMA motor power cable terminals with insulating tape (G).
- If the IMA motor power cable terminals are wet, dry them with a clean shop towel. Do not use compressed air.





Turning Off and On Power High Voltage Circuit

The following procedure should be done before you work on or near any energized high voltage components. Follow the procedure exactly. Otherwise, you may be injured or may damage equipment.

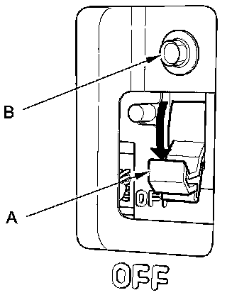
1. Turn the ignition switch to LOCK (0), then remove the key from the ignition switch.

2. Remove the rear seat-back Rear Seat Removal/Installation.

3. Remove the battery module switch lid (A) from the battery module.






4. Turn the battery module switch (A) OFF, then check that the bolt (B) is showing.





5. Wait at least 5 minutes to allow the PDU capacitors to discharge.

6. Remove the IPU lid IPU Lid Removal/Installation.

7. Measure the voltage at the battery module terminals (A). There should be less than 30V. If the voltage is more than 30 V, there is a problem in the system; check for IMA-DTCs before continuing.





8. After service or repairs are completed:

- Make sure all the high voltage circuits are connected properly.
- Install the IPU lid IPU Lid Removal/Installation.

9. Push the button (A), and turn the battery module switch ON.





10. Reinstall all remaining removed parts.