Operation CHARM: Car repair manuals for everyone.
Manuals through 2025 now available!

Our trusted friends have launched a new website named LEMON, which has newer manuals. It also contains all the CHARM manuals.

LEMON is the spiritual successor to CHARM, I recommend you try it!

Link: lemon-manuals.la or lemon-manuals.org.ua

(Some people have issue connecting. LEMON is investigating. For now, use Firefox or change your DNS server)

Or, hide this message: temporarily or permanently

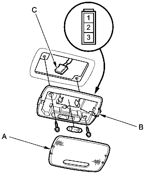
Ceiling Light Test/Replacement




Ceiling Light Test/Replacement

1. Turn the ceiling light switch OFF.

2. Carefully pry the lens (A) off with a small screwdriver.









3. Remove the screws, then remove the ceiling light (B).

4. Disconnect the 3P connector (C) from the light.

5. Check for continuity between the terminals.

- There should be continuity between terminals No. 1 and No. 2 with the switch in the MIDDLE position.
- There should be continuity between terminals No. 2 and No. 3 (Body ground) with the switch in the ON position.
- There should be no continuity between terminals No. 1 and No. 2 and terminals No. 2 and No. 3 (body ground) with the switch in the OFF position.

6. If the continuity is not as specified, check the bulb. If the bulb is OK, replace the light.

7. Install the light in the reverse order of removal.