Operation CHARM: Car repair manuals for everyone.
Manuals through 2025 now available!

Our trusted friends have launched a new website named LEMON, which has newer manuals. It also contains all the CHARM manuals.

LEMON is the spiritual successor to CHARM, I recommend you try it!

Link: lemon-manuals.la or lemon-manuals.org.ua

(Some people have issue connecting. LEMON is investigating. For now, use Firefox or change your DNS server)

Or, hide this message: temporarily or permanently

Brake Bleeding: Service and Repair




Brake System Bleeding

NOTICE
Do not spill brake fluid on the vehicle; it may damage the paint. If brake fluid does contact the paint, wash it off immediately with water.

NOTE:

- Do not reuse the drained fluid. Use only new Honda DOT 3 Brake Fluid from an unopened container.

Note: Using a non-Honda brake fluid can cause corrosion and shorten the life of the system.

- Make sure no dirt or other foreign matter gets in the brake fluid.
- When you turn the ignition switch to ON (II), the power unit may operate (you can hear the motor sound).

Brake Fluid Level Inspection

1. Turn the ignition switch to ON (II).

2. Press the brake pedal several times.

3. Turn the ignition switch to LOCK (0), then turn it to ON (II) again.

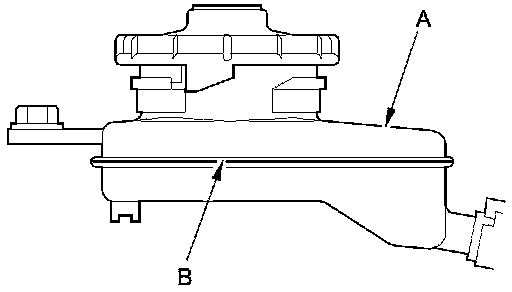
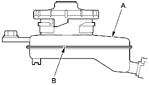
4. Wait several seconds for the brake fluid in the subreservoir (A) to stabilize.

NOTE: Do not operate the brake pedal while doing this procedure.





5. Check that the brake fluid level in the subreservoir is at the MAX (upper) level line (B).

Fluid Removal

NOTE: Because the conventional brake system and the AHB system use the same brake fluid reservoir, fluid removal is necessary in order to purge old fluid from the AHB system.

1. Turn the ignition switch to LOCK (0).

2. Press the brake pedal 20 times to release the pressure in the accumulator.

3. Attach a length of drain tube (A) to the bleed screw (B) on the caliper or wheel cylinder.





4. Loosen the bleed screw, and pump the brake pedal until brake fluid stops coming out.

5. Remove the air cleaner Service and Repair.

6. Remove the IMA system power cable clamp (A).






7. Disconnect the auxiliary electric water pump connector (A).






8. Attach a length of clear drain tube (A) to the bleed screw (B) under the servo unit (C), and loosen the bleed screw.

NOTE: Turn the bleed screw about 180 °.





9. Turn the ignition switch to ON (II).

NOTE: Do not operate the pump motor for more than 110 seconds or it may be damaged.

10. When the brake fluid is drained out, tighten the bleed screw, then turn the ignition switch to LOCK (0).

NOTE: After draining the brake fluid from the servo unit and the power unit, the sound of the power unit function changes.

11. Do the brake system bleeding.

12. Install all removed parts and reconnect all connectors.

Bleeding - Normal Brake (Except Servo Unit and Power Unit)

NOTE:
- The brake fluid reservoir tank must be at least 1/2 full at the start of the bleeding procedure and checked after bleeding each brake caliper or wheel cylinder. Add fluid as required.
- Turn the ignition switch to LOCK (0) while doing this procedure.

1. Turn the ignition switch to LOCK (0).

2. Press the brake pedal several times until it becomes a hard brake pedal to release the pressure in the accumulator.

3. Make sure the brake fluid level in the reservoir tank (A) is at the middle of the tank line (B).





4. Have someone slowly pump the brake pedal several times, then apply steady pressure.

5. Start the bleeding at the driver's side of the front brake system.





NOTE: Bleed the calipers or the wheel cylinders in the sequence shown.


6. Attach a length of clear drain tube (A) to the bleed screw (B), then loosen the bleed screw to allow air to escape from the system. Then tighten the bleed screw securely.

Front





Rear-disc brake type





Rear-drum brake type





7. Repeat the procedure for each brake circuit until there are no air bubbles in the fluid.

8. Refill the master cylinder reservoir tank to the middle of the tank line.

9. Inspect the brake fluid level.

10. Turn the ignition switch to ON (II), and check for the AHB indicator or brake system indicator to come on in the gauge control module (tach).

- If the indicator(s) come on and stay on, turn the ignition switch to LOCK (0), and do the servo unit and power unit bleeding procedure.
- If the indicators come on and then go off, the system is OK. Inspect the brake fluid level.

Bleeding - Servo Unit and Power Unit

1. Remove the air cleaner Service and Repair.

2. Remove the IMA system power cable clamp (A).






3. Disconnect the auxiliary electric water pump connector (A).






4. Add the brake fluid to the reservoir tank (A) and keep the level at the middle line (B).






5. Attach a length of clear drain tube (A) to the bleed screw (B) under the servo unit (C), and loosen the bleed screw.

NOTE: Turn the bleed screw about 180 °.






6. Turn the ignition switch to ON (II), and add the brake fluid to the reservoir tank.

NOTE: Do not operate the pump motor for more than 110 seconds or it may be damaged.

7. Make sure the brake fluid is discharged from the bleed screw to allow air to escape from the system, then tighten the bleed screw securely.

8. Turn the ignition switch to LOCK (0).

9. Add the brake fluid in the reservoir tank, and keep it at the middle of the tank line.

10. Turn the ignition switch to ON (II).

11. Wait several seconds until the AHB indicator and/or brake system indicator goes off.

12. Turn the ignition switch to LOCK (0).

13. Press the brake pedal 20 times.

14. Wait about 5 minutes.

15. Repeat step 11 to step 15 two times.

16. Make sure the bleed screw is tightened.

17. Inspect the brake fluid level.

18. Check the brake pedal stroke.

19. Install all removed parts and reconnect all connectors.

20. Clear the DTC with the HDS, if necessary.