Operation CHARM: Car repair manuals for everyone.
Manuals through 2025 now available!

Our trusted friends have launched a new website named LEMON, which has newer manuals. It also contains all the CHARM manuals.

LEMON is the spiritual successor to CHARM, I recommend you try it!

Link: lemon-manuals.la or lemon-manuals.org.ua

(Some people have issue connecting. LEMON is investigating. For now, use Firefox or change your DNS server)

Or, hide this message: temporarily or permanently

Vehicle Lifting: Service and Repair




Lift and Support Points

NOTE: If you are going to remove heavy components such as the suspension or the fuel tank from the rear of the vehicle, first support the front of the vehicle with tall safety stands. When substantial weight is removed from the rear of the vehicle, the center of gravity can change, causing the vehicle to tip forward on the lift.

Vehicle Lift

1. Position the lift pads (A) under the vehicle's front support points (B) and rear support points (C).

NOTICE
Be sure the lift pads are properly placed to avoid damaging the vehicle.





2. Raise the lift a few inches, and rock the vehicle gently to be sure it is firmly supported.

3. Raise the lift to its full height, and inspect the vehicle support points for solid contact with the lift pads.

Safety Stands

To support the vehicle on safety stands, use the same support points as for a vehicle lift. Always use safety stands when working on or under any vehicle that is supported only by a jack.

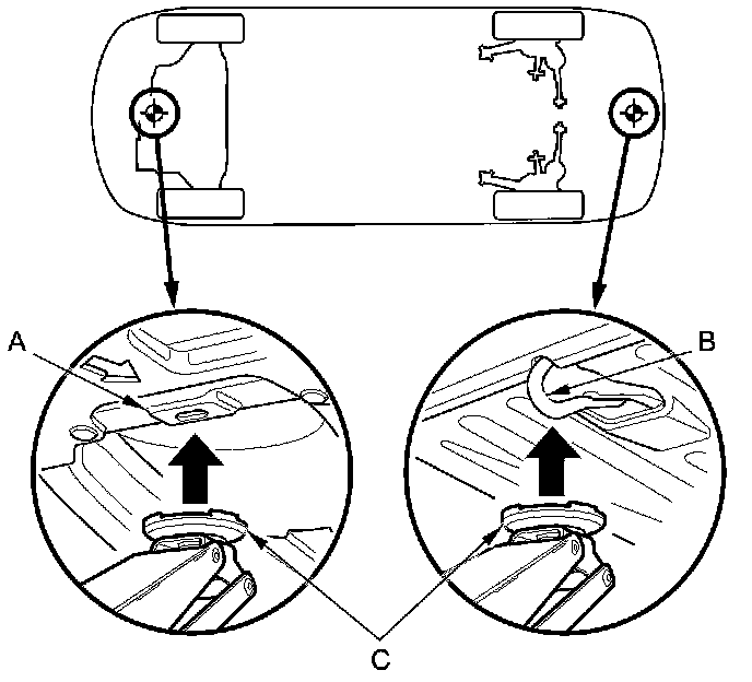
Floor Jack

1. When lifting the front of the vehicle, set the parking brake. When lifting the rear of the vehicle, put the shift lever in P.

2. Block the wheels that are not being lifted.

3. Position the floor jack under the front jacking bracket (A) or the rear jacking bracket (B). Center the jacking bracket on the jack lift platform (C), and jack up the vehicle high enough to fit the safety stands under it.

NOTICE
Be sure the floor jack is properly placed to avoid damaging the vehicle.





4. Position the safety stands under the support points, and adjust them so the vehicle is level side-to-side.

5. Lower the vehicle onto the stands.