Operation CHARM: Car repair manuals for everyone.
Manuals through 2025 now available!

Our trusted friends have launched a new website named LEMON, which has newer manuals. It also contains all the CHARM manuals.

LEMON is the spiritual successor to CHARM, I recommend you try it!

Link: lemon-manuals.la or lemon-manuals.org.ua

(Some people have issue connecting. LEMON is investigating. For now, use Firefox or change your DNS server)

Or, hide this message: temporarily or permanently

Part Two




How to Troubleshoot the CVT System


How to Troubleshoot Circuits at the PCM Connectors

NOTE: The PCM overwrites data and monitors the EVAP system for about 30 minutes after the ignition switch is turned to LOCK (0). Jumping the SCS line after turning the ignition switch to LOCK (0) cancels this function. Disconnecting the PCM during this function, without jumping the SCS line first, can damage the PCM.

1. Jump the SCS line with the HDS.

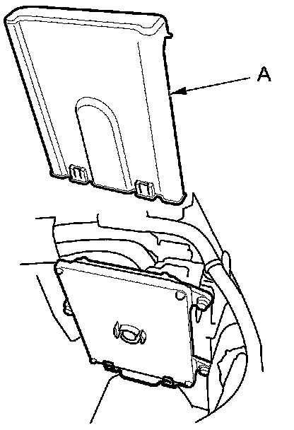
2. Remove the cover (A).






3. Lift up the under-hood fuse/relay box (D).





4. Remove the coolant reservoir (E). Disconnect PCM connectors A, B, and C.

NOTE: PCM connectors A, B, and C have symbols (A=(square), B=(triangle), C=(circle)) embossed on them for identification.

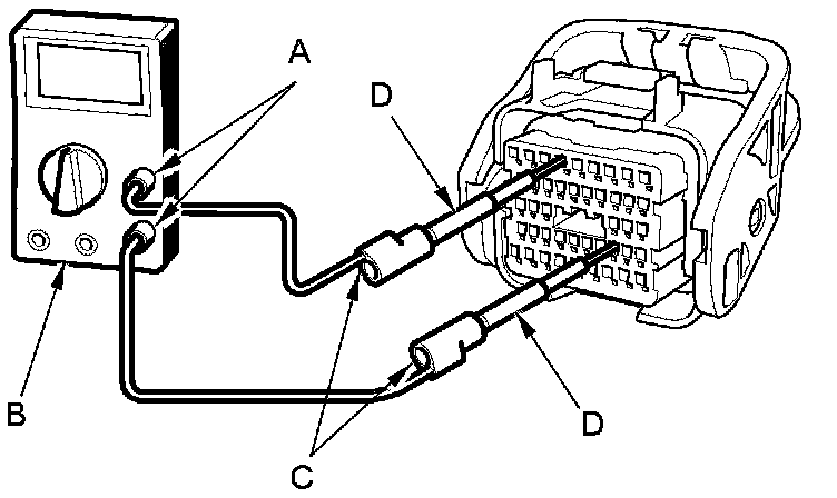
5. When diagnosis/troubleshooting is done at the PCM connector, use the terminal test port (A) above the terminal you need to check.






6. Connect one side of the patch cord's terminals (A) to a commercially available digital multimeter (B), and connect the other side of the terminals (C) to a commercially available banana jack (Pomona Electronics Tool No. 3563 or equivalent) (D).





7. Gently contact the pin probe (male) at the terminal test port from the terminal side. Do not force the tips into the terminals.

NOTICE
- For accurate results, always use the pin probe (male).
- To prevent damage to the connector terminals, do not insert test equipment probes, paper clips, or other substitutes. Damaged terminals cause a poor connection, and an incorrect measurement.
- Do not puncture the insulation on a wire. Punctures can cause poor or intermittent electrical connections.



Clear A/T DTCs Procedure

1. Connect the HDS to the DLC (A) located under the driver's side of the dashboard.





2. Turn the ignition switch to ON (II).

3. Make sure the HDS communicates with the PCM. If it does not, go to the DLC circuit troubleshooting Testing and Inspection.

4. Clear the DTC(s) with the HDS.

OBD Status

The OBD status shows the current system status of each DTC and all of the parameters. This function is used to see if a repair was successfully completed. The results of diagnostic tests for the DTC are displayed as:

- PASSED: The on-board diagnosis is successfully completed.
- FAILED: The on-board diagnosis has completed but failed.
- NOT COMPLETED: The on-board diagnosis was running but is out of the enable conditions of the DTC.

PCM/TCM Reset

NOTE: To reset the PCM/TCM, initialize only the automatic transmission memory stored in the PCM or the TCM.

1. Select the A/T system with the HDS.

2. Reset the PCM/TCM with the HDS while the engine is stopped.

3. Turn the ignition switch to LOCK (0).

4. Turn the ignition switch to ON (II), and wait for 30 second.

5. Turn the ignition switch to LOCK (0), and disconnect the HDS from the DLC.

6. Do the start clutch pressure control calibration procedure Programming and Relearning.

How to End a Troubleshooting Session (required after any troubleshooting)

NOTE: Reset the PCM/TCM with the HDS while the engine is stopped.

1. Turn the ignition switch to LOCK (0).

2. Turn the ignition switch to ON (II), and wait for 30 seconds.

3. Turn the ignition switch to LOCK (0), and disconnect the HDS from the DLC.

4. Start the engine with the shift lever in P or N, and warm it up to normal operating temperature (the radiator fan comes on twice).

5. To verify that the problem is repaired, test-drive the vehicle for several minutes at speeds over 31 mph (50 km/h) or under the same conditions as those indicated by the freeze data.

Failure Reproduction Technique

Make sure to follow these points while the vehicle is raised on a lift for the test-drive.

- Disable the VSA (if equipped) by pressing the VSA OFF button.
- ABS or VSA DTC(s) may come on when test-driving on a lift. If ABS or VSA DTC(s) come on, clear the DTC(s) with the HDS.