Operation CHARM: Car repair manuals for everyone.
Manuals through 2025 now available!

Our trusted friends have launched a new website named LEMON, which has newer manuals. It also contains all the CHARM manuals.

LEMON is the spiritual successor to CHARM, I recommend you try it!

Link: lemon-manuals.la or lemon-manuals.org.ua

(Some people have issue connecting. LEMON is investigating. For now, use Firefox or change your DNS server)

Or, hide this message: temporarily or permanently

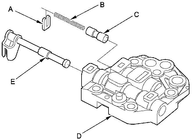
Intermediate Housing Manual Valve Body Disassembly/Inspection/Reassembly




Intermediate Housing Manual Valve Body Disassembly/Inspection/Reassembly

1. Remove the spring seat (A), the valve spring (B), and the reverse inhibitor valve (C) from the manual valve body (D).









2. Remove the manual valve (E).

3. Check all parts for wear and damage.

4. Clean all parts thoroughly in solvent, and dry with compressed air. Blow out all passages.

5. Coat all parts with CVTF during assembly.

6. Install the reverse inhibitor valve (A) and the valve spring (B) in the manual valve body (C). Push the valve spring in using a screwdriver (D), then install the spring seat (E).