Removal and Replacement
12 Volt Battery Removal and Installation
NOTE: The 12 volt battery terminal disconnection and reconnection procedure Procedures must be done before and after doing this procedure. Some systems store data in memory that is lost when the battery is disconnected.
Removal
1. Do the 12 volt battery terminal disconnection procedure.
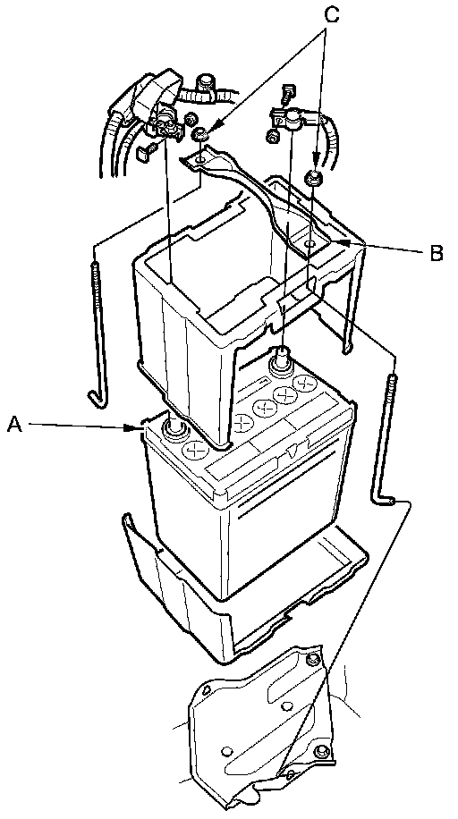
2. Remove the two nuts (A) securing the battery setting plate (B), then remove the battery setting plate and the battery (C).
Installation
1. Install the battery (A), then install the battery setting plate (B).
2. Tighten the two nuts (C) equally until the battery is stable.
NOTE: Do not deform the battery setting plate by over-tightening the nuts.
3. Do the 12 volt battery terminal reconnection procedure.
NOTE: Make sure the battery is installed correctly, and the positive terminal and the negative terminal are not reverse-connected.