Operation CHARM: Car repair manuals for everyone.
Manuals through 2025 now available!

Our trusted friends have launched a new website named LEMON, which has newer manuals. It also contains all the CHARM manuals.

LEMON is the spiritual successor to CHARM, I recommend you try it!

Link: lemon-manuals.la or lemon-manuals.org.ua

(Some people have issue connecting. LEMON is investigating. For now, use Firefox or change your DNS server)

Or, hide this message: temporarily or permanently

Back Window Glass: Service and Repair




Rear Window Replacement

NOTE:

- Wear eye protection while cutting the glass adhesive with a piano wire.
- Put on gloves to protect your hands.
- Use seat covers to avoid damaging any surfaces.
- Do not damage the rear window defogger grid lines or the terminals.

1. Remove these items:

- Trunk lid
- Rear shelf Service and Repair

2. Disconnect the rear window defogger terminals (A).





3. If the original rear window will be reinstalled, make alignment marks across the glass and the body with a grease pencil.

4. Pull down the rear area of the headliner (A) by detaching the clips.

NOTE: Take care not to bend the headliner excessively, or you may crease or break it.





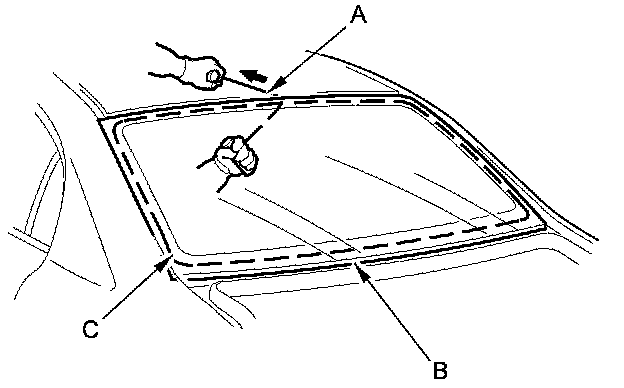
5. Apply protective tape along the inside and the outside edges of the body. Make a hole with an awl through the adhesive from inside the vehicle at a corner of the rear window. Push a piece of piano wire through the hole, and wrap each end around a piece of wood.

6. Remove the lower rubber dam (A) from the lower edge of the rear window (B). If necessary, cut the molding with a utility knife.






7. With a helper on the outside, pull the piano wire (A) back and forth in a sawing motion. Hold the piano wire as close to the rear window (B) as possible to prevent damage to the body, and carefully cut through the adhesive (C) around the entire rear window.






Cutting positions





8. Carefully remove the rear window.

9. Scrape smooth the original adhesive with a knife until there is a thickness of about 2 mm (0.08 in) on the bonding surface around the entire rear window opening flange:

- Do not scrape down to the painted surface of the body; damaged paint will interfere with proper bonding.
- Remove the fasteners from the body.

10. Clean the body bonding surface with a shop towel dampened with isopropyl alcohol. After cleaning, keep oil, grease, and water from getting on the surface.

11. If you are reinstalling the original rear windshield, scrape off the original adhesive, the fasteners, and the rubber dam from the rear window with a putty knife. Clean the bonding surfaces on the inside face and the edge of the rear window with isopropyl alcohol. Make sure the bonding surface is kept free of water, oil, and grease.

12. Apply glass primer to the edge of the rear window (A) where the new lower rubber dam (B) will be attached as shown. Attach the lower rubber dam with adhesive tape (C) to the lower edge of the rear window:

- After installing the rubber dam, cut the ends (D) of the rubber dam with a utility knife as shown.
- Be careful not to touch the rear window the where the adhesive will be applied.





13. Apply glass primer to the upper clips mounting areas on the rear window (A), and let it dry. Attach the upper rubber dam (B), the side rubber dam (C), the clips (D), and the side fasteners (E) with adhesive tape to the inside face of the rear window as shown:

- Be sure the clips, and fasteners line up with the alignment marks (F).
- First attach the upper rubber dam, then attach the side rubber dams around the edge of the rear window. Be sure the top of the side rubber dam contacts with the bottom of the upper rubber dam. If necessary, cut the rubber dam with a utility knife.
- Be careful not to touch the rear window where the adhesive will be applied.





14. Attach the fasteners with the adhesive tape to the rear window opening flange of the body on both sides.






15. Set the rear window in the opening, and center it. Make alignment marks (A) across the rear window and the body with a grease pencil at the four points are shown:

- Make sure both clips (B) are in the body holes.
- Be careful not to touch the rear window where the adhesive will be applied.





16. Remove the rear window.

17. Apply a light coat of glass primer along the edge of the rear window (A) between the rubber dams (B) as shown, then lightly wipe it off with a gauze or cheesecloth:

- Apply the glass primer to the corner areas of the rear window with the printed dots (C) on the rear window as a guide.
- Do not apply body primer to the rear window, and do not mix up the body and glass primer applicators.
- Never touch the primed surfaces with your hands. If you do, the adhesive may not bond to the rear window properly, causing a leak after the rear window is installed.
- Keep water, dust, and abrasive materials away from primed surfaces.





18. Carefully apply a light coat of the body primer to any exposed paint or metal around the flange where the new adhesive will be applied. Let the body primer dry for at least 10 minutes:

- Do not apply glass primer to any remaining original adhesive on the flange.
- Be careful not to mix up the body and glass primer applicators.
- Never touch the primed surfaces with your hands.





19. Cut a " V" in the end of the nozzle (A) on the adhesive cartridge as shown.






20. Put the cartridge in a caulking gun, and run a continuous bead of the adhesive (A) to the rear window (B) between the rubber dams (C) as shown:

- Apply the glass primer to the corner areas of the rear window using the print dots (D) on the rear window as a guide.
- Apply the adhesive within 30 minutes after applying the glass primer.
- Make a slightly thicker bead at each corner.





21. Hold the rear window with suction cups over the opening, align it with the alignment marks you made in step 15, and set it down on the adhesive. Lightly push on the rear window until its edges are fully seated on the adhesive all the way around.

NOTE: Do not open or close any of the doors for about an hour until the adhesive is dry.

22. Remove the excess adhesive with a putty knife or a shop towel dampened with isopropyl alcohol.

23. Wait at least an hour for the adhesive to dry, then spray water over the rear window and check for leaks. Mark the leaking areas, let the rear window dry, then seal with sealant. Let the vehicle stand for at least 4 hours after rear window installation. If the vehicle has to be used within the first 4 hours, it must be driven slowly.

24. Reinstall all remaining removed parts.

NOTE: Advise the customer not to do the following things for 2 to 3 days:

- Slam the doors with all the windows rolled up.
- Twist the body excessively (such as when going in and out of driveways at an angle or driving over rough, uneven roads).