Operation CHARM: Car repair manuals for everyone.
Manuals through 2025 now available!

Our trusted friends have launched a new website named LEMON, which has newer manuals. It also contains all the CHARM manuals.

LEMON is the spiritual successor to CHARM, I recommend you try it!

Link: lemon-manuals.la or lemon-manuals.org.ua

(Some people have issue connecting. LEMON is investigating. For now, use Firefox or change your DNS server)

Or, hide this message: temporarily or permanently

Windshield: Service and Repair




Windshield Replacement

NOTE:

- Wear eye protection while cutting the glass adhesive with a piano wire.
- Put on gloves to protect your hands.
- Use seat covers to avoid damaging any surfaces.
- Glass adhesive can be efficiently cut with a commercially available auto tool. See the tool manufacturer's instruction for details.

1. Remove these items:

- Rearview mirror Rearview Mirror Replacement
- A-pillar trims, both sides Service and Repair
- Cowl covers Service and Repair
- Roof moldings

2. Remove the windshield molding (A) from the upper edge of the windshield (B). If necessary, cut the windshield molding with a utility knife.





3. If the original windshield will be reinstalled, make alignment marks across the windshield and the body with a grease pencil.

4. Pull down the front area of the headliner Service and Repair.

NOTE: Take care not to bend the headliner excessively, or you may crease or break it.

5. Apply protective tape along the edge of the dashboard and the body. Make a hole with an awl through the rubber dam and the adhesive from inside the vehicle at a corner of the windshield. Push a piece of piano wire through the hole, and wrap each end around a piece of wood.

6. With a helper on the outside, pull the piano wire (A) back and forth in a sawing motion. Hold the piano wire as close to the windshield (B) as possible to prevent damage to the body and the dashboard. Carefully cut through the rubber dam and the adhesive (C) around the entire windshield.






Cutting positions





7. Carefully remove the windshield.

8. Scrape smooth the original adhesive with a knife until there is a thickness of about 2 mm (0.08 in) on the bonding surface around the entire windshield opening flange:

- Do not scrape down to the painted surface of the body; damaged paint will interfere with proper bonding.
- Remove the rubber dam and the fasteners from the body.

9. Clean the body bonding surface with a shop towel dampened with isopropyl alcohol. After cleaning, keep oil, grease and water from getting on the clean surface.

10. If you are reinstalling the original windshield, scrape off the original adhesive, the fasteners, and the rubber dam from the windshield with a putty knife. Clean the bonding surfaces on the inside face and the edge of the windshield with isopropyl alcohol. Make sure the bonding surface is kept free of water, oil, and grease.

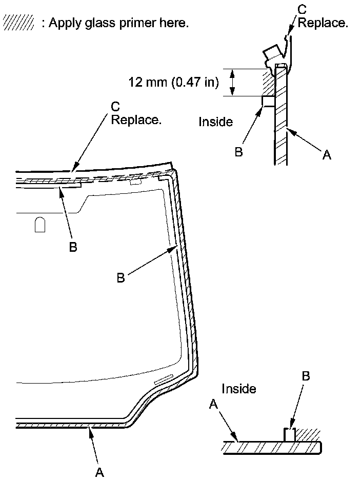
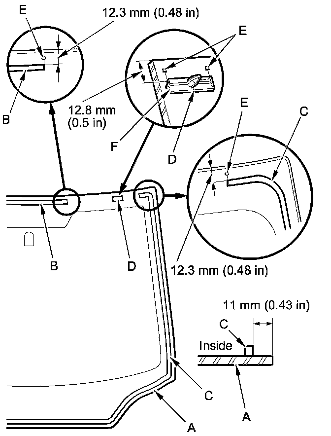
11. Apply glass primer to the upper clips mounting areas on the windshield (A), and let it dry. Remove the adhesive backing and attach the upper rubber dams (B), the side rubber dam (C), and the upper clips (D) with adhesive tape to the inside face of the windshield as shown:

- Make sure the rubber dams and the upper clips line up with the alignment marks (E).
- Make sure the index tabs (F) of the upper clips faces the left side.
- Be careful not to touch the windshield where the adhesive will be applied.





12. Attach the windshield molding (A) with adhesive tape (B) to the upper edge of the windshield (C). Be careful not to touch the windshield where the adhesive will be applied.






13. Attach the windshield upper seal (A) with adhesive tape to the inside surface of the windshield molding (B) as shown.






14. Attach the lower rubber dam (A) with adhesive tape to the body as shown. Do not peel the glass side adhesive backing.






15. Set the windshield (A) in the opening, and center it. Make alignment marks (B) across the windshield and the body with a grease pencil at the four points shown:

- Make sure both clips (C) contact with the edge of the body holes.
- Be careful not to touch the windshield where the adhesive will be applied.





16. Remove the windshield.

17. Apply a light coat of glass primer along the edge of the windshield (A) between the rubber dams (B) or the windshield molding (C) as shown, then lightly wipe it off with gauze or cheesecloth:

- Apply glass primer to the molding.
- Do not apply body primer to the windshield, and do not mix up the body and glass primer applicators.
- Never touch the primed surfaces with your hands. If you do, the adhesive may not bond to the windshield properly, causing a leak after the windshield is installed.
- Keep water, dust, and abrasive materials away from primed surfaces.





18. Carefully apply a light coat of the body primer to any exposed paint or metal on the windshield mounting flange. Let the body primer dry for at least 10 minutes:

- Do not apply glass primer to any remaining original adhesive on the flange.
- Cover on the dashboard before applying the body primer.
- Be careful not to mix up the body and glass primer applicators.
- Never touch the primed surfaces with your hands.





19. Cut a " V" in the end of the nozzle (A) on the adhesive cartridge as shown.






20. Put the cartridge in a caulking gun, and run a continuous bead of the adhesive (A) around the edge of the windshield (B) along the edge of the rubber dams (C) and the windshield molding (D) as shown:

- Apply the adhesive within 30 minutes after applying the glass primer.
- Make a slightly thicker bead at each corner.





21. Pull out the glass side adhesive backing away from the lower rubber dam.

22. Hold the windshield with suction cups over the opening, align it with the alignment marks made in step 15, and set it down on the adhesive. Lightly push on the windshield until its edges are fully seated on the adhesive all the way around.

NOTE: Do not open or close any of the doors for about an hour until the adhesive is dry.

23. Remove the excess adhesive with a putty knife or a shop towel dampened with isopropyl alcohol.

24. Wait at least an hour for the adhesive to dry, then spray water over the windshield and check for leaks. Mark the leaking areas, let the windshield dry, then seal with sealant. Let the vehicle stand for at least 4 hours after windshield installation. If the vehicle has to be used within the first 4 hours, it must be driven slowly.

25. Reinstall all remaining removed parts.

NOTE: Advise the customer not to do the following things for 2 to 3 days:

- Slam the doors with all the windows rolled up.
- Twist the body excessively (such as when going in and out of driveways at an angle or driving over rough, uneven roads).