Operation CHARM: Car repair manuals for everyone.
Manuals through 2025 now available!

Our trusted friends have launched a new website named LEMON, which has newer manuals. It also contains all the CHARM manuals.

LEMON is the spiritual successor to CHARM, I recommend you try it!

Link: lemon-manuals.la or lemon-manuals.org.ua

(Some people have issue connecting. LEMON is investigating. For now, use Firefox or change your DNS server)

Or, hide this message: temporarily or permanently

Engine Removal




Engine Removal

Special Tools Required

- 1.8 Support Eyelet 07AAK-SNAA400
- 1.8 Support Bolt 07AAK-SNAA500
- Engine Support Hanger, A and Reds AAR-T1256
- 2006 Civic Engine Hanger VSB02C000025
- Subframe Adapter VSB02C000016
- Universal Lifting Eyelet 07AAK-SNAA120
* Available through Honda Tool and Equipment Program, 888-424-6857

NOTE:

- Use fender covers to avoid damaging painted surfaces.
- To avoid damaging the wiring and terminals, unplug the wiring connectors carefully while holding the connector portion.
- Mark all wiring and hoses to avoid misconnection. Also, be sure that they do not contact other wiring, hoses, or interfere with other parts.

1. Close the manual shut-off valve.





2. To reduce pressure in the fuel lines, start the engine, and run it until it stalls.

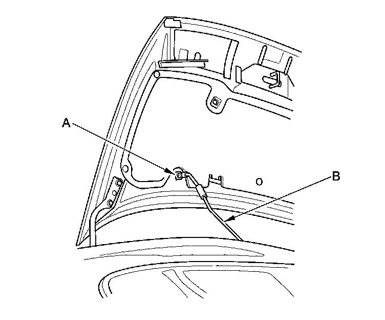
3. Open the hood, and secure it with hood support rod (A) in the wide-open position (B).





4. Do the battery removal procedure Removal and Replacement.

5. Remove the intake air duct.

6. Remove the air cleaner Service and Repair.

7. Remove the cowl cover and the under-cowl panel Service and Repair.

8. Disconnect the fuel feed hose.






9. Disconnect the vacuum hose (A) and the brake booster vacuum hose (B), and remove the power steering hose clamp (C).






10. Disconnect the battery cables (A) from the under-hood fuse/relay box.





11. Remove the harness clamps (B).

12. Remove the PCM cover (A), then remove the three bolts (B) securing the PCM.






13. Disconnect the PCM connectors (A) and the engine wire harness connectors (B).





14. Remove the harness clamps (C).

15. Remove the drive belt Service and Repair.

16. Wait until the engine is cool, then carefully remove the radiator cap.

17. Raise the vehicle on the lift.

18. Remove the front wheels.

19. Remove the splash shield.





20. Loosen the drain plug in the radiator, and drain the engine coolant Service and Repair.

21. Drain the engine oil Service and Repair.

22. Drain the ATF ATF Replacement.

23. Remove exhaust pipe A.





24. Remove the shift cable. Do not bend the shift cable excessively.

25. Separate the stabilizer links Front Stabilizer Link Removal/Installation.

26. Separate the knuckles from the lower arms Service and Repair.

27. Remove the driveshafts Driveshaft Removal. Coat all precision-finished surfaces with new engine oil. Tie plastic bags over the driveshaft ends.

28. Remove the power steering pump without disconnecting the power steering hoses from the pump.






29. Unclamp the power steering fluid line clamp (A) on the front subframe, and remove the power steering line mounting bolts (B).






30. Remove the steering gearbox mounting bolt (A), the stiffener mounting bolt (B), and the stiffener (C).





31. Remove the steering gearbox bracket (D).

32. Remove the steering gearbox mounting bolt (A), the stiffener mounting bolt (B), and the stiffener (C).





33. Lower the vehicle on the lift.

34. Remove the radiator Service and Repair.

35. Disconnect the A/C compressor clutch connector (A), then remove the harness clamp (B).





36. Remove the A/C compressor (C) without disconnecting the A/C hoses.

37. Disconnect the heater hoses.






38. Remove the air cleaner mounting bracket (A), and install the 1.8 support eyelet (07AAK-SNAA400) behind the breather pipe (B) and down to the threaded hole (C) on the cylinder head.






39. Attach the 1.8 support eyelet (A) to the cylinder head with the 1.8 support bolt (07AAK-SNAA500). Tighten the bolt by hand.





40. Install the front bulkhead, and tighten the mounting bolts.

41. Install the engine support hanger (AAR-T1256) onto the 2006 Civic engine hanger (VSB02C000025) as shown, and attach the hook to the slotted hole in the 1.8 support eyelet. Tighten the wing nut (A) by hand, and lift and support the engine/transmission.

NOTE: Be careful when working around the windshield.






42. Raise the vehicle on the lift.

43. Remove the lower torque rod.






44. Make appropriate reference lines (A) at both sides of the front subframe (B) that line up with the edges (C) on the body.






45. Loosen the mid-stiffener mounting bolt (A) on both sides.






46. Attach the subframe adapter (VSB02C000016) to the front subframe by looping the belt (A) of the subframe adapter over the front of the subframe (B), then secure the belt with its stop (C).





47. Raise the jack and line up the slots in the subframe adapter arms with the bolt holes on the jack base, then securely attach them with four bolts.

48. Support the steering gearbox on both sides with nylon straps.

49. Remove the front subframe mounting bolts (A), then lower the front subframe (B).





50. Lower the vehicle on the lift.

51. Remove the ground cable (A), then install the universal lifting eyelet (07AAK-SNAA120).






52. Attach a chain hoist (A) to the universal lifting eyelet (B) and the transmission hanger (C), then lift the engine/transmission until it is securely supported by the chain hoist, and remove the engine support hanger, the 2006 Civic engine hanger, and the 1.8 support eyelet.






53. Remove the side engine mount bracket mounting bolt and nut.






54. Remove the transmission mount bracket mounting bolt and nuts (A).





55. Remove the ground cable (B).

56. Check that the engine/transmission is completely free of the vacuum hoses, the fuel hoses, the coolant hoses, and the electrical wiring.

57. Slowly lower the engine/transmission about 150 mm (5.91 in). Check once again that all the hoses and the electrical wiring are disconnected and free from the engine/transmission, then lower it all the way and support it.

58. Disconnect the chain hoist from the engine/transmission.

59. Raise the vehicle, and remove the engine/transmission from under the vehicle.